ГОСТ 26239.4-84 Дихлорсилан. Методы определения примесей
ГОСТ
Скачать ГОСТ в PDF или DOC бесплатно
Основная информация
Обозначение:
ГОСТ 26239.4-84
Статус:
Действует
Тип:
ГОСТ
Название русское:
Дихлорсилан. Методы определения примесей
Название английское:
Dichlorsilane. Methods of inpurities determination
Даты и сроки
Дата издания:
01-21-85
Дата введения в действие:
01-01-86
Дата завершения срока действия:
-
Применение и описание
Область и условия применения:
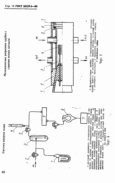
Настоящий стандарт устанавливает два метода определения примесей в дихлорсилане: химико-атомно-эмиссионный с возбуждением спектров дугой постоянного тока и химико-атомно-эмиссионный с возбуждением спектров разрядом с горячим полым катодом
Связи и замены
Заменяющий:
-
Изменения и переиздания
Список изменений:
№1 от (рег. ) «Срок действия продлен»
Описание стандарта
ГОСТ 26239.4-84 Дихлорсилан. Методы определения примесей
Страницы стандарта



















