ГОСТ 21132.1-81 Алюминий и сплавы алюминиевые. Методы определения водорода в твердом металле
ГОСТ
Скачать ГОСТ в PDF или DOC бесплатно
Основная информация
Обозначение:
ГОСТ 21132.1-81
Статус:
Заменен
Тип:
ГОСТ
Название русское:
Алюминий и сплавы алюминиевые. Методы определения водорода в твердом металле
Название английское:
Aluminium alloys. Measuring hydrogen content insolid metal by solid extraction method
Даты и сроки
Дата издания:
10-09-81
Дата введения в действие:
01-01-83
Дата завершения срока действия:
01-01-00
Применение и описание
Область и условия применения:
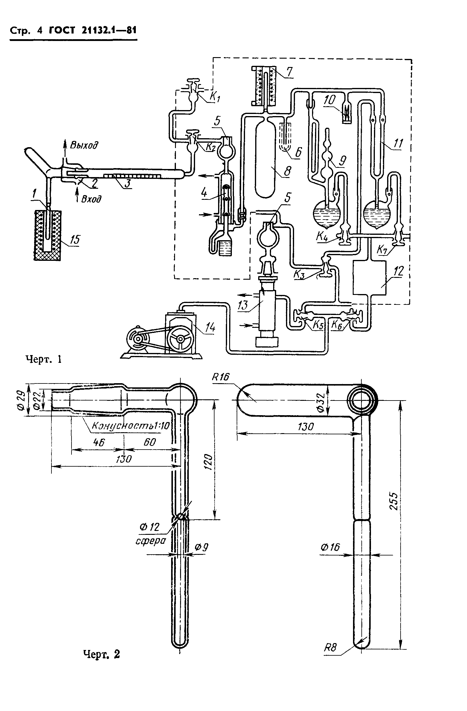
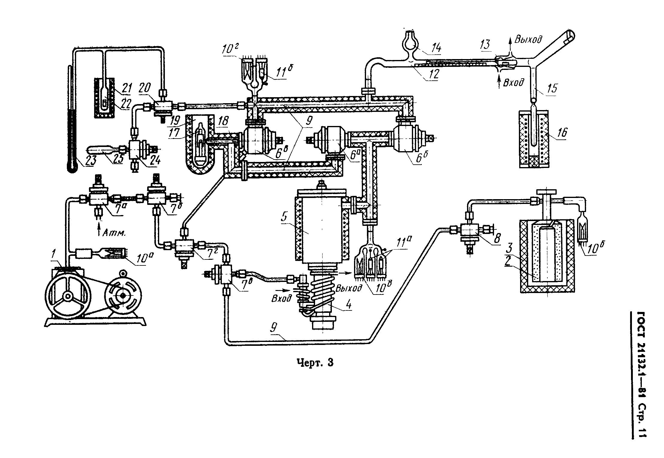
Настоящий стандарт устанавливает метод вакуум-нагрева с анализатором по давлению и метод вакуум-нагрева с масс-спектрометрическим анализатором в динамическом режиме (при содержании водорода от 0,07 до 1,0 куб. см на 100 г металла) определения содержания водорода в твердом металле алюминия и алюминиевых сплавов
Связи и замены
Заменяющий:
ГОСТ 21132.1-98
Взамен:
ГОСТ 21132.1-75
Изменения и переиздания
Список изменений:
№1 от (рег. ) «Срок действия продлен» №2 от (рег. ) «Срок действия продлен»
Описание стандарта
ГОСТ 21132.1-81 Алюминий и сплавы алюминиевые. Методы определения водорода в твердом металле
Страницы стандарта





















