ГОСТ 9853.1-79 Титан губчатый. Метод определения азота
ГОСТ
Скачать ГОСТ в PDF или DOC бесплатно
Основная информация
Обозначение:
ГОСТ 9853.1-79
Статус:
Заменен
Тип:
ГОСТ
Название русское:
Титан губчатый. Метод определения азота
Название английское:
Sponge titanium. Method for the determination of nitrogen
Даты и сроки
Дата издания:
11-05-79
Дата введения в действие:
01-01-81
Дата завершения срока действия:
07-01-00
Применение и описание
Область и условия применения:
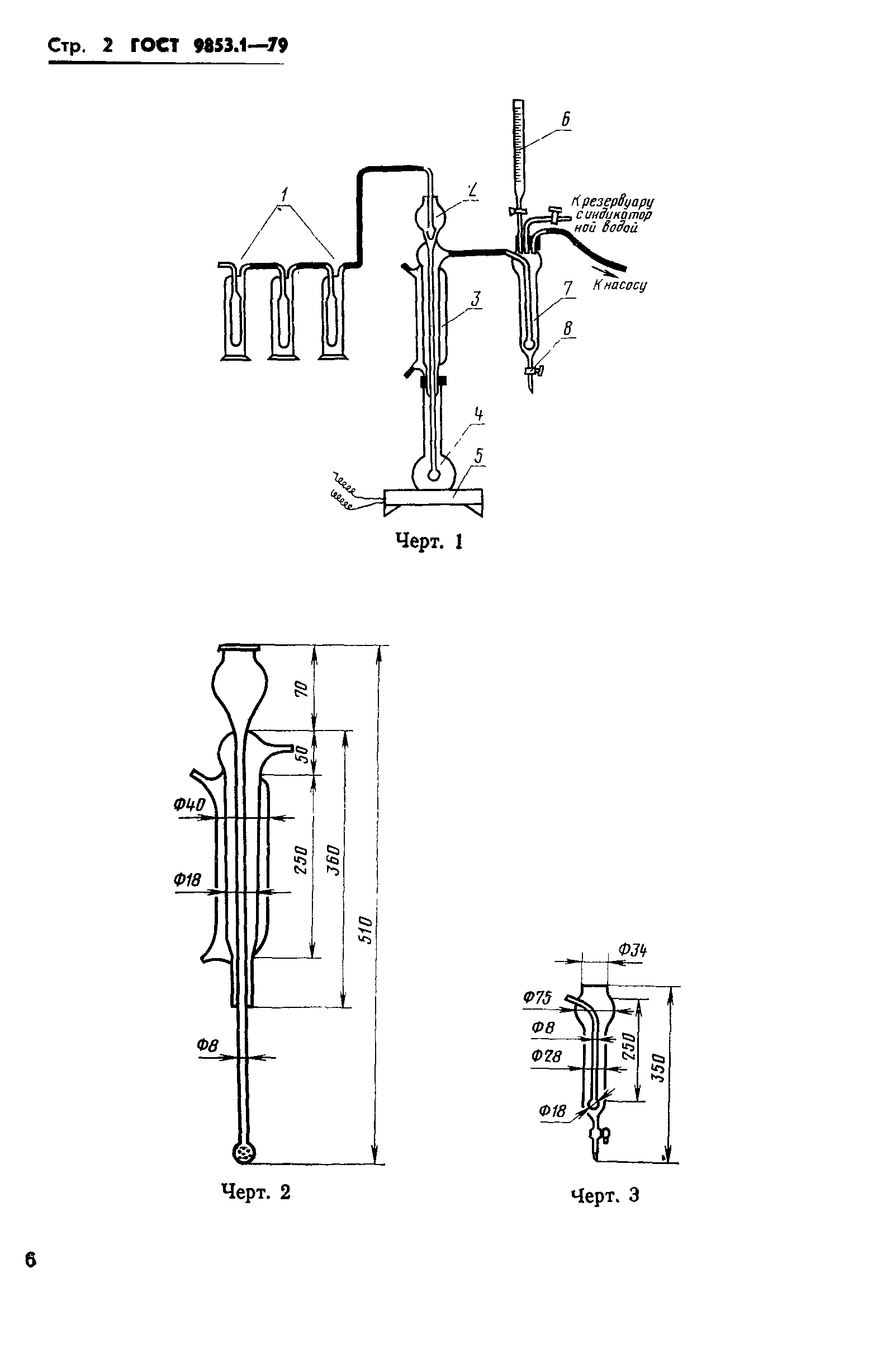
Настоящий стандарт устанавливает объемный метод определения азота в губчатом титане (при массовой доле азота от 0,005 до 0,4%). Метод основан на растворении титана в серной и фтористоводородной кислотах в результате чего в растворе образуются аммонийные соли. Последние разлагаются гидроокисью натрия с выделением аммиака, который поглощается слабокислым раствором индикатора Таширо и титруется раствором серной кислоты
Связи и замены
Заменяющий:
ГОСТ 9853.1-96
Взамен:
ГОСТ 9853.1-72
Изменения и переиздания
Список изменений:
№1 от (рег. ) «Срок действия продлен» №2 от (рег. ) «Срок действия продлен» №3 от (рег. ) «Срок действия продлен»
Описание стандарта
ГОСТ 9853.1-79 Титан губчатый. Метод определения азота
Страницы стандарта
















