ГОСТ 19440-94 Порошки металлические. Определение насыпной плотности. Часть 1. Метод с использованием воронки. Часть 2. Метод волюмометра Скотта
ГОСТ
Скачать ГОСТ в PDF или DOC бесплатно
Основная информация
Обозначение:
ГОСТ 19440-94
Статус:
Действует
Тип:
ГОСТ
Название русское:
Порошки металлические. Определение насыпной плотности. Часть 1. Метод с использованием воронки. Часть 2. Метод волюмометра Скотта
Название английское:
Metallic powders. Determination of apparent density. Part 1. Funnel method. Part 2. Scott volumeter method
Даты и сроки
Дата регистрации:
10-21-94
Дата издания:
12-09-96
Дата введения в действие:
01-01-97
Дата завершения срока действия:
-
Применение и описание
Область и условия применения:
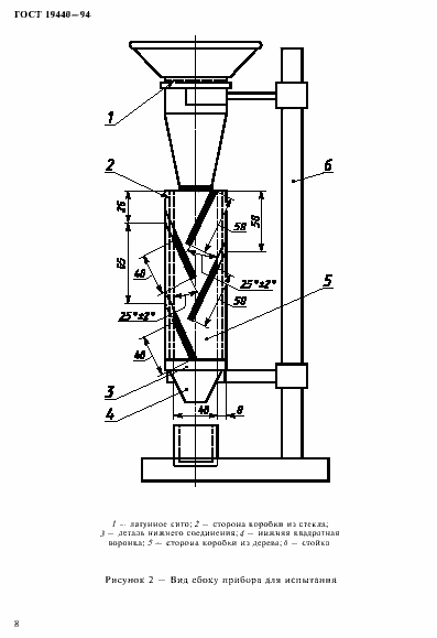
Настоящая часть стандарта устанавливает метод определения насыпной плотности металлических порошков при стандартизованных условиях с помощью воронки. Метод распространяется на металлические порошки, свободно протекающие через отверстие диаметром 2,5 мм, а также может быть использован для порошков, которые плохо протекают через отверстие диаметром 2,5 мм, но свободно протекают через отверстие диаметром 5 мм. Метод определения насыпной плотности порошков, которые не протекают через отверстие диаметром 5 мм, установлен во второй части настоящего стандарта
Связи и замены
Заменяющий:
-
Взамен:
ГОСТ 19440-74
Описание стандарта
ГОСТ 19440-94 Порошки металлические. Определение насыпной плотности. Часть 1. Метод с использованием воронки. Часть 2. Метод волюмометра Скотта
Страницы стандарта














