ГОСТ 23401-90 Порошки металлические. Катализаторы и носители. Определение удельной поверхности
ГОСТ
Скачать ГОСТ в PDF или DOC бесплатно
Основная информация
Обозначение:
ГОСТ 23401-90
Статус:
Действует
Тип:
ГОСТ
Название русское:
Порошки металлические. Катализаторы и носители. Определение удельной поверхности
Название английское:
Metal powders. Catalysts and carriers. Determination of specific area
Даты и сроки
Дата издания:
03-14-91
Дата введения в действие:
01-01-92
Дата завершения срока действия:
-
Применение и описание
Область и условия применения:
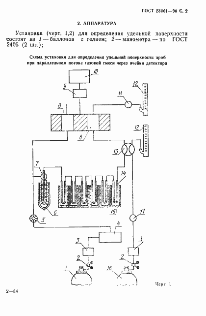
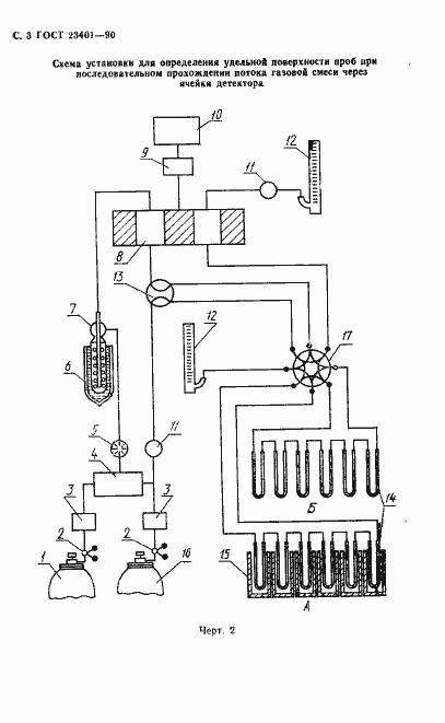
Настоящий стандарт устанавливает метод определения удельной поверхности металлических порошков, катализаторов и носителей от 0,05 до 1000 м кв./г по тепловой десорбции газа (азота или аргона)
Связи и замены
Заменяющий:
-
Взамен:
ГОСТ 23401-78
Описание стандарта
ГОСТ 23401-90 Порошки металлические. Катализаторы и носители. Определение удельной поверхности
Страницы стандарта











