ГОСТ 25280-90 Порошки металлические. Метод определения уплотняемости
ГОСТ
Скачать ГОСТ в PDF или DOC бесплатно
Основная информация
Обозначение:
ГОСТ 25280-90
Статус:
Действует
Тип:
ГОСТ
Название русское:
Порошки металлические. Метод определения уплотняемости
Название английское:
Metal powders. Method for determination of compressibility
Даты и сроки
Дата издания:
04-26-91
Дата введения в действие:
06-30-91
Дата завершения срока действия:
-
Применение и описание
Область и условия применения:
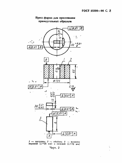
Настоящий стандарт устанавливает метод определения уплотняемости порошков металлов, порошковых сплавов и порошковых смесей. Стандарт не распространяется на порошки из твердых сплавов
Связи и замены
Заменяющий:
-
Взамен:
ГОСТ 25280-82
Описание стандарта
ГОСТ 25280-90 Порошки металлические. Метод определения уплотняемости
Страницы стандарта














