ГОСТ 15815-83 Щепа технологическая. Технические условия
ГОСТ
Скачать ГОСТ в PDF или DOC бесплатно
Основная информация
Обозначение:
ГОСТ 15815-83
Статус:
Действует
Тип:
ГОСТ
Название русское:
Щепа технологическая. Технические условия
Название английское:
Technological chips. Specifications
Даты и сроки
Дата издания:
06-01-92
Дата введения в действие:
01-01-85
Дата завершения срока действия:
-
Применение и описание
Область и условия применения:
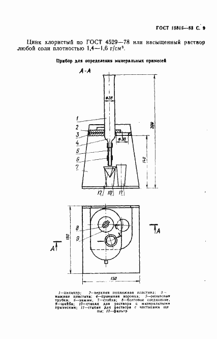
Настоящий стандарт распространяется на технологическую щепу, предназначенную для целлюлозно-бумажного и гидролизного производств, изготовления древесностружечных и древесноволокнистых плит. Стандарт не распространяется на щепу от сучьев и получаемую на агрегатных установках типа ЛАПБ
Связи и замены
Заменяющий:
-
Взамен:
ГОСТ 15815-70
Изменения и переиздания
Список изменений:
№1 от (рег. ) «Срок действия продлен» №2 от (рег. ) «Срок действия продлен»
Описание стандарта
ГОСТ 15815-83 Щепа технологическая. Технические условия
Страницы стандарта














