ГОСТ 25645.138-86 Пояса Земли радиационные естественные. Модель пространственно-энергетического распределения плотности потока протонов
ГОСТ
Скачать ГОСТ в PDF или DOC бесплатно
Основная информация
Обозначение:
ГОСТ 25645.138-86
Статус:
Действует
Тип:
ГОСТ
Название русское:
Пояса Земли радиационные естественные. Модель пространственно-энергетического распределения плотности потока протонов
Название английское:
-
Даты и сроки
Дата издания:
11-01-89
Дата введения в действие:
06-30-87
Дата завершения срока действия:
-
Применение и описание
Область и условия применения:
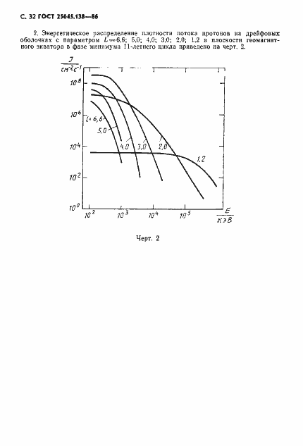
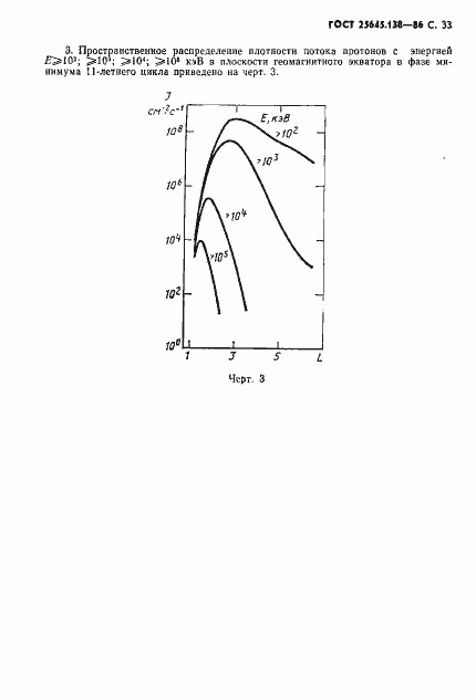
Настоящий стандарт устанавливает модель пространственного и энергетического распределения плотности потока протонов в фазах минимума и максимума 11-летнего цикла солнечной активности в естественных радиационных поясах Земли. Стандарт предназначен для использования в расчетах радиационных условий полета космических аппаратов в околоземном простанстве
Связи и замены
Заменяющий:
-
Описание стандарта
ГОСТ 25645.138-86 Пояса Земли радиационные естественные. Модель пространственно-энергетического распределения плотности потока протонов
Страницы стандарта




































