ГОСТ 20966-75 Пластик древесный слоистый марки ДСП-Б-а. Технические условия
ГОСТ
Скачать ГОСТ в PDF или DOC бесплатно
Основная информация
Обозначение:
ГОСТ 20966-75
Статус:
Действует
Тип:
ГОСТ
Название русское:
Пластик древесный слоистый марки ДСП-Б-а. Технические условия
Название английское:
Laminated wood plastic, type ДСП-Б-a. Specifications
Даты и сроки
Дата издания:
01-01-84
Дата введения в действие:
01-01-76
Дата завершения срока действия:
-
Применение и описание
Область и условия применения:
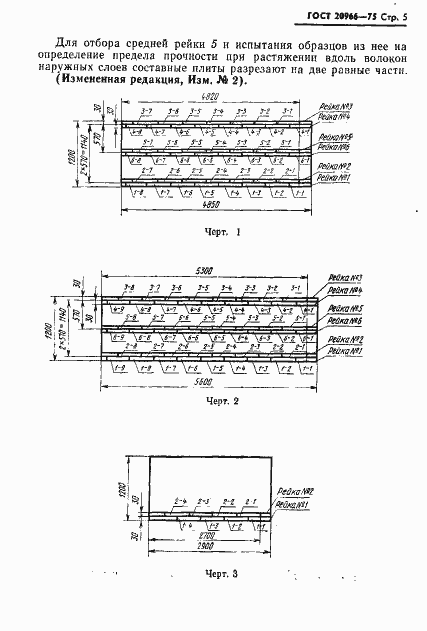
Настоящий стандарт распространяется на древесный слоистый пластик марки ДСП-Б-а, изготовленный из листов березового шпона, склеенных бакелитовым лаком в процессе термической обработки под давлением. Древесный слоистый пластик марки ДСП-Б-а предназначен для использования в силовых нагруженных элементах авиационных конструкций
Связи и замены
Заменяющий:
-
Взамен в части:
ГОСТ 8697-58 в части марки ДСП-Б-а
Изменения и переиздания
Список изменений:
№0 от (рег. ) «Срок действия продлен» №1 от (рег. ) «Срок действия продлен» №2 от (рег. ) «Срок действия продлен» №3 от (рег. ) «Срок действия продлен»
Описание стандарта
ГОСТ 20966-75 Пластик древесный слоистый марки ДСП-Б-а. Технические условия
Страницы стандарта











