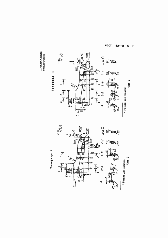
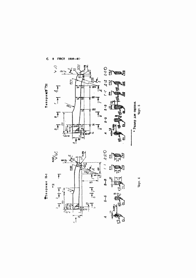
ГОСТ 1400-91 Топорища для топоров строительных. Технические условия
ГОСТ
Скачать ГОСТ в PDF или DOC бесплатно
Основная информация
Обозначение:
ГОСТ 1400-91
Статус:
Действует
Тип:
ГОСТ
Название русское:
Топорища для топоров строительных. Технические условия
Название английское:
Handles for builder`s axes. Specifications
Даты и сроки
Дата издания:
01-08-92
Дата введения в действие:
06-30-92
Дата завершения срока действия:
-
Применение и описание
Область и условия применения:
Настоящий стандарт распространяется на топорища для строительных топоров, применяемые для насадки на них топоров
Связи и замены
Заменяющий:
-
Взамен:
ГОСТ 1400-73
Описание стандарта
ГОСТ 1400-91 Топорища для топоров строительных. Технические условия
Страницы стандарта











