ГОСТ 13235-79 Фрезы дереворежущие насадные с затылованными зубьями для обработки пазов и гребней. Конструкция и размеры
ГОСТ
Скачать ГОСТ в PDF или DOC бесплатно
Основная информация
Обозначение:
ГОСТ 13235-79
Статус:
Действует
Тип:
ГОСТ
Название русское:
Фрезы дереворежущие насадные с затылованными зубьями для обработки пазов и гребней. Конструкция и размеры
Название английское:
Relived woodworking cutters for tongue and groovs cutting. Design and dimensions
Даты и сроки
Дата издания:
07-01-86
Дата введения в действие:
01-01-81
Дата завершения срока действия:
-
Применение и описание
Область и условия применения:
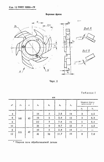
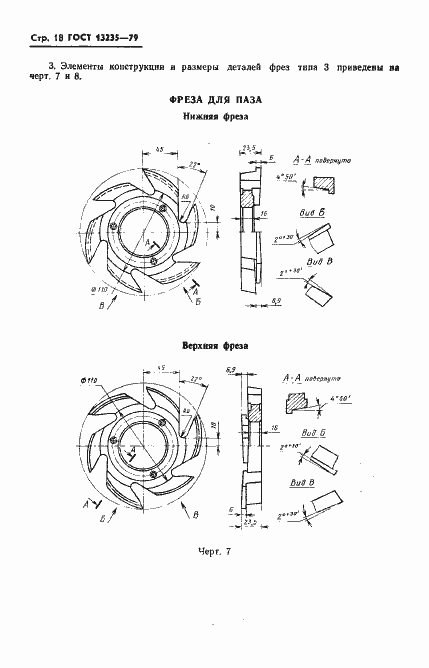
Настоящий стандарт распространяется на насадные цельные и составные фрезы с затылованными зубьями, предназначенные для обработки сопрягаемых пазов и гребней в древесине на четырехсторонних строгальных станках
Связи и замены
Заменяющий:
-
Взамен:
ГОСТ 13235-67
Изменения и переиздания
Список изменений:
№1 от (рег. ) «Срок действия продлен»
Описание стандарта
ГОСТ 13235-79 Фрезы дереворежущие насадные с затылованными зубьями для обработки пазов и гребней. Конструкция и размеры
Страницы стандарта

























