ГОСТ 14956-79 Фрезы дереворежущие насадные цилиндрические сборные. Типы, основные параметры и размеры
ГОСТ
Скачать ГОСТ в PDF или DOC бесплатно
Основная информация
Обозначение:
ГОСТ 14956-79
Статус:
Действует
Тип:
ГОСТ
Название русское:
Фрезы дереворежущие насадные цилиндрические сборные. Типы, основные параметры и размеры
Название английское:
Shell type inserted beade circular cutterbloks for woodcutting. Types. Main parameters and dimensions
Даты и сроки
Дата издания:
10-16-79
Дата введения в действие:
01-01-81
Дата завершения срока действия:
-
Применение и описание
Область и условия применения:
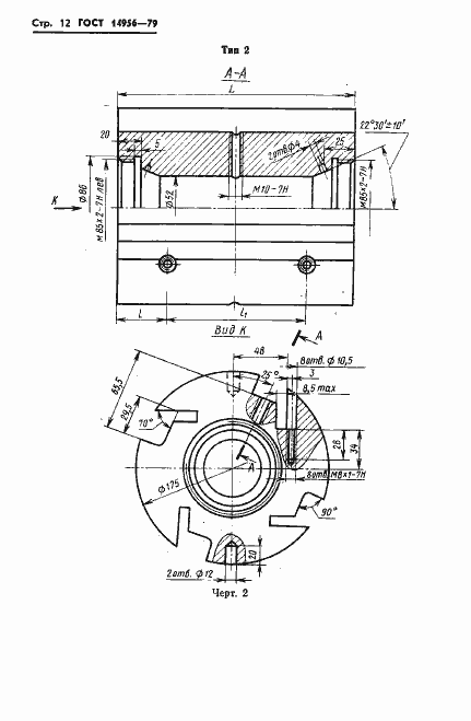
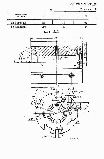
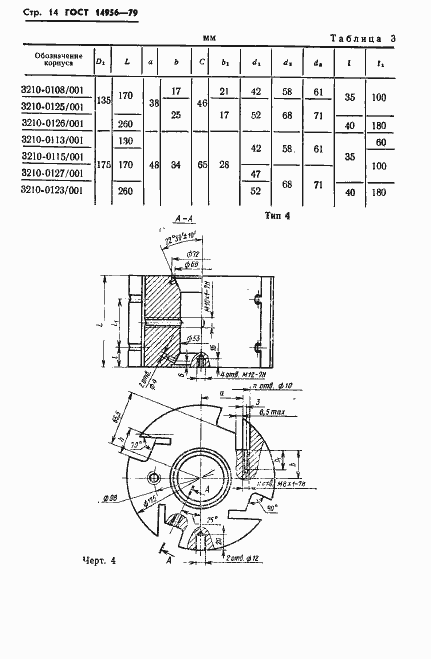
Настоящий стандарт распространяется на насадные цилиндрические сборные фрезы, предназначенные для обработки древесины и древесных материалов на фрезерных и четырехсторонних строгальных станках. Фрезы должны изготовляться типов: 1 - с непосредственной посадкой на шпиндель; 2 - с креплением на двух цангах гайками; 3 - с креплением на двух цангах через промежуточные упорные кольца; 4 - с креплением на цанге; 5 - с креплением на патроне
Связи и замены
Заменяющий:
-
Взамен:
ГОСТ 14956-69
Описание стандарта
ГОСТ 14956-79 Фрезы дереворежущие насадные цилиндрические сборные. Типы, основные параметры и размеры
Страницы стандарта





























