ГОСТ 18479-73 Пилы круглые строгальные для распиловки древесины. Технические условия
ГОСТ
Скачать ГОСТ в PDF или DOC бесплатно
Основная информация
Обозначение:
ГОСТ 18479-73
Статус:
Действует
Тип:
ГОСТ
Название русское:
Пилы круглые строгальные для распиловки древесины. Технические условия
Название английское:
Planer-type circular saws for sawing of wood. Technical conditions
Даты и сроки
Дата издания:
10-01-90
Дата введения в действие:
01-01-74
Дата завершения срока действия:
-
Применение и описание
Область и условия применения:
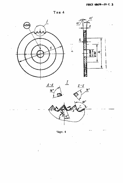
Настоящий стандарт распространяется на пилы круглые строгальные, предназначенные для распиловки сухой древесины с влажностью до 20%
Связи и замены
Заменяющий:
-
Взамен:
МН 134-63;МН 135-63;МН 136-63;МН 5142-63;МН 5143-63
Изменения и переиздания
Список изменений:
№1 от (рег. ) «Срок действия продлен» №2 от (рег. ) «Срок действия продлен» №3 от (рег. ) «Поправка»
Описание стандарта
ГОСТ 18479-73 Пилы круглые строгальные для распиловки древесины. Технические условия
Страницы стандарта














