ГОСТ 26215-84 Ножовки по дереву. Технические условия
ГОСТ
Скачать ГОСТ в PDF или DOC бесплатно
Основная информация
Обозначение:
ГОСТ 26215-84
Статус:
Действует
Тип:
ГОСТ
Название русское:
Ножовки по дереву. Технические условия
Название английское:
Hand-saws. Specifications
Даты и сроки
Дата издания:
12-01-03
Дата введения в действие:
06-30-85
Дата завершения срока действия:
-
Применение и описание
Область и условия применения:
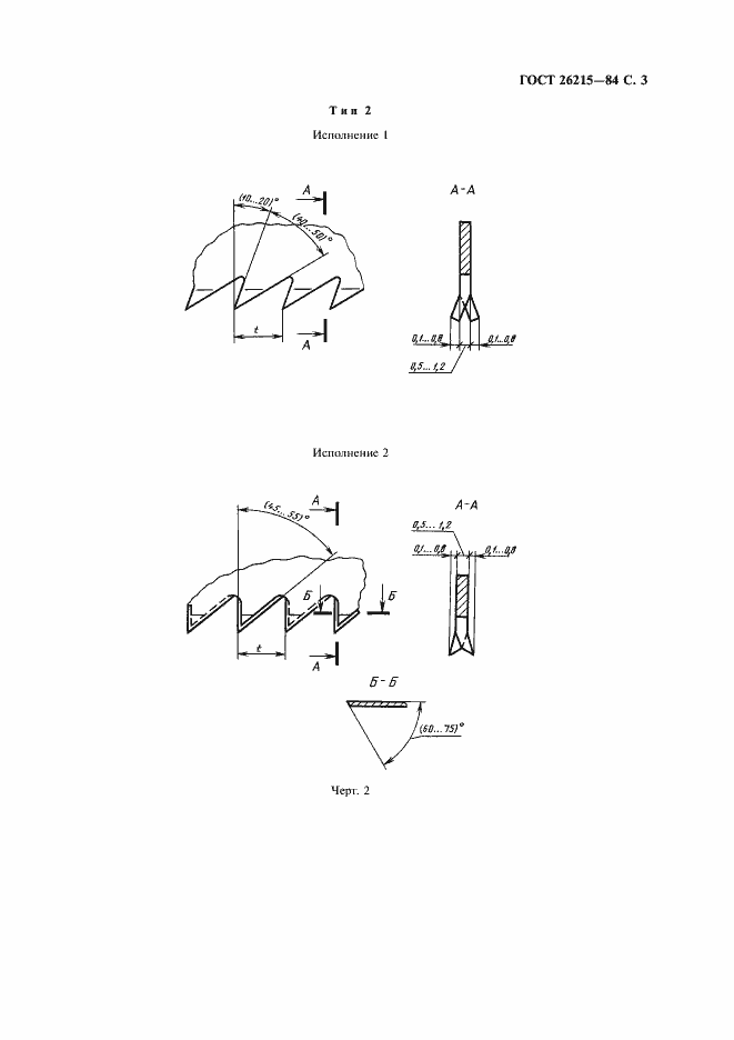
Настоящий стандарт распространяется на ножовки по дереву, предназначенные для ручной распиловки древесины и древесных материалов при выполнении плотничных и столярных работ
Связи и замены
Заменяющий:
-
Изменения и переиздания
Список изменений:
№1 от (рег. ) «Срок действия продлен»
Описание стандарта
ГОСТ 26215-84 Ножовки по дереву. Технические условия
Страницы стандарта










