ГОСТ 30047-93 Деревообрабатывающее оборудование. Станки строгальные дву-, трех- и четырехсторонние (типа рейсмусовых с дополнительными шпинделями). Терминология и условия приемки
ГОСТ
Скачать ГОСТ в PDF или DOC бесплатно
Основная информация
Обозначение:
ГОСТ 30047-93
Статус:
Действует
Тип:
ГОСТ
Название русское:
Деревообрабатывающее оборудование. Станки строгальные дву-, трех- и четырехсторонние (типа рейсмусовых с дополнительными шпинделями). Терминология и условия приемки
Название английское:
Woodworking machines. Planing machines for two-, three- or four-side dressing. Nomenclature and acceptance conditions
Даты и сроки
Дата регистрации:
10-21-93
Дата издания:
09-15-95
Дата введения в действие:
06-30-96
Дата завершения срока действия:
-
Применение и описание
Область и условия применения:
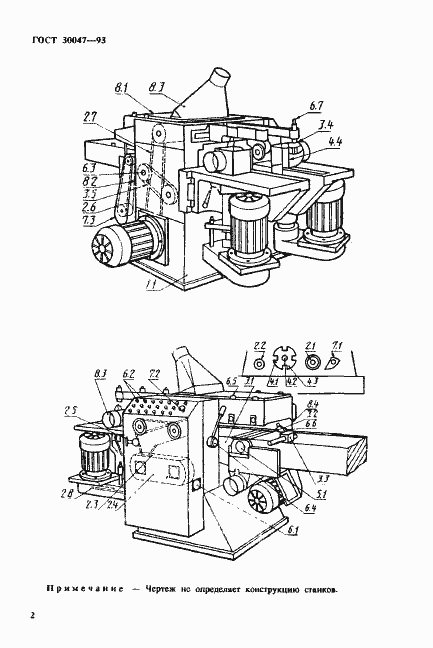
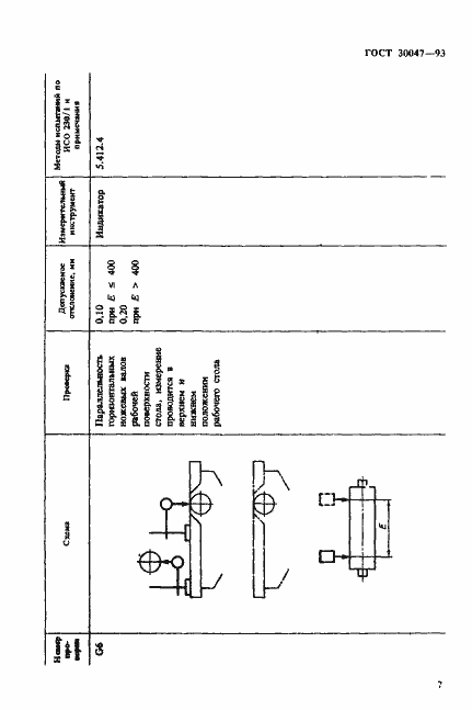
Настоящий стандарт распространяется на дву-, трех- и четырехсторонние строгальные станки (типа рейсмусовых с дополнительными шпинделями) и устанавливает терминологию основных деталей и узлов станков, обеспечивающую идентичность терминологических понятий, применяемых изготовителем и потребителем, а также условия испытаний станков (проверки геометрической точности) и допустимые отклонения. Стандарт пригоден для сертификации
Связи и замены
Заменяющий:
-
Описание стандарта
ГОСТ 30047-93 Деревообрабатывающее оборудование. Станки строгальные дву-, трех- и четырехсторонние (типа рейсмусовых с дополнительными шпинделями). Терминология и условия приемки
Страницы стандарта













