ГОСТ 33529-2015 Пилы ленточные бревнопильные с режущими элементами, наплавленными стеллитом. Технические условия
ГОСТ
Скачать ГОСТ в PDF или DOC бесплатно
Основная информация
Обозначение:
ГОСТ 33529-2015
Статус:
Действует
Тип:
ГОСТ
Название русское:
Пилы ленточные бревнопильные с режущими элементами, наплавленными стеллитом. Технические условия
Название английское:
Band saw blades with cutting elements weld by satellite. Specifications
Даты и сроки
Дата регистрации:
09-29-15
Дата издания:
07-19-16
Дата введения в действие:
01-01-17
Применение и описание
Область и условия применения:
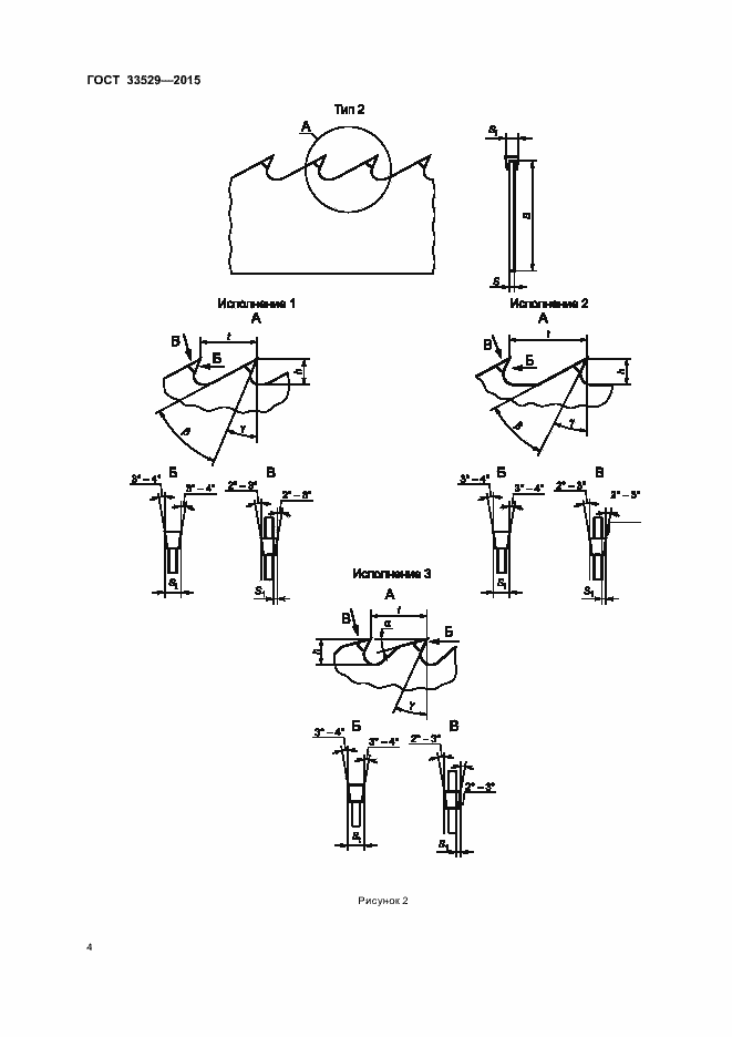
Настоящий стандарт распространяется на ленточные бревнопильные пилы, наплавленные стеллитом (износостойким литым сплавом), предназначенные для продольной распиловки хвойных и лиственных пород и древесных материалов на ленточнопильных станках
Описание стандарта
ГОСТ 33529-2015 Пилы ленточные бревнопильные с режущими элементами, наплавленными стеллитом. Технические условия
Страницы стандарта










