ГОСТ 33532-2015 Пилы рамные и тарные с режущими элементами, наплавленными стеллитом, для вертикальных лесопильных рам. Технические условия
ГОСТ
Скачать ГОСТ в PDF или DOC бесплатно
Основная информация
Обозначение:
ГОСТ 33532-2015
Статус:
Действует
Тип:
ГОСТ
Название русское:
Пилы рамные и тарные с режущими элементами, наплавленными стеллитом, для вертикальных лесопильных рам. Технические условия
Название английское:
Gang saw blades and mini gang saw blades with cutting elements welded by satellite for vertical gang-saw. Specifications
Даты и сроки
Дата регистрации:
09-29-15
Дата издания:
07-15-16
Дата введения в действие:
01-01-17
Применение и описание
Область и условия применения:
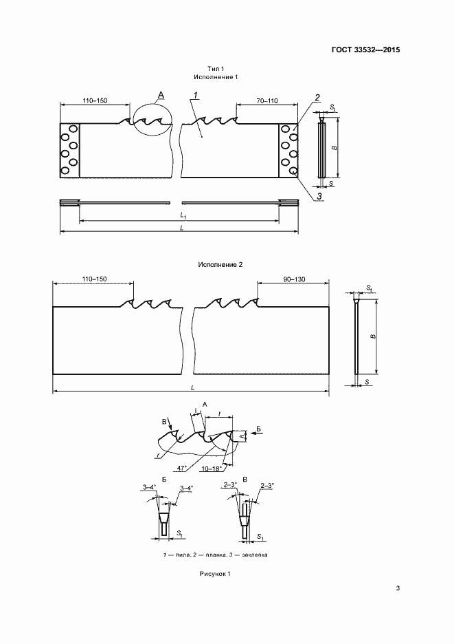
Настоящий стандарт распространяется на рамные и тарные пилы, наплавленные износостойким литым сплавом (стеллитом), предназначенные для первичной продольной распиловки лесоматериалов хвойных и лиственных пород на вертикальных и тарных лесопильных рамах
Описание стандарта
ГОСТ 33532-2015 Пилы рамные и тарные с режущими элементами, наплавленными стеллитом, для вертикальных лесопильных рам. Технические условия
Страницы стандарта











