ГОСТ EN 12600-2015 Cтекло и изделия из него. Метод испытания на стойкость к удару двойной шиной
ГОСТ ЕН
Скачать ГОСТ в PDF или DOC бесплатно
Основная информация
Обозначение:
ГОСТ EN 12600-2015
Статус:
Действует
Тип:
ГОСТ ЕН
Название русское:
Cтекло и изделия из него. Метод испытания на стойкость к удару двойной шиной
Название английское:
Glass and glass products. Test method for resistance to impact by dual tyres
Даты и сроки
Дата регистрации:
10-27-15
Дата издания:
04-11-16
Дата введения в действие:
04-01-17
Дата завершения срока действия:
-
Применение и описание
Область и условия применения:
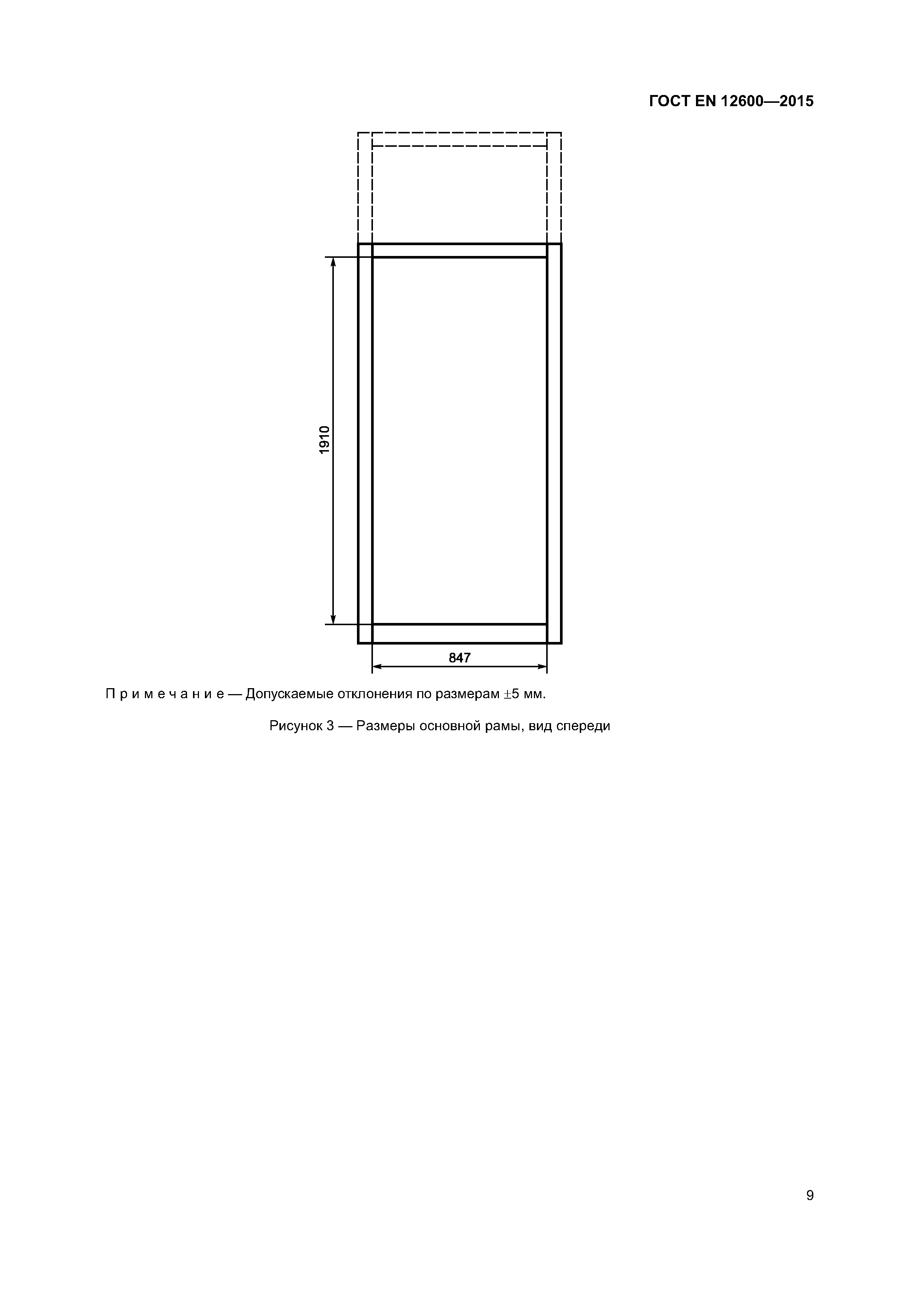
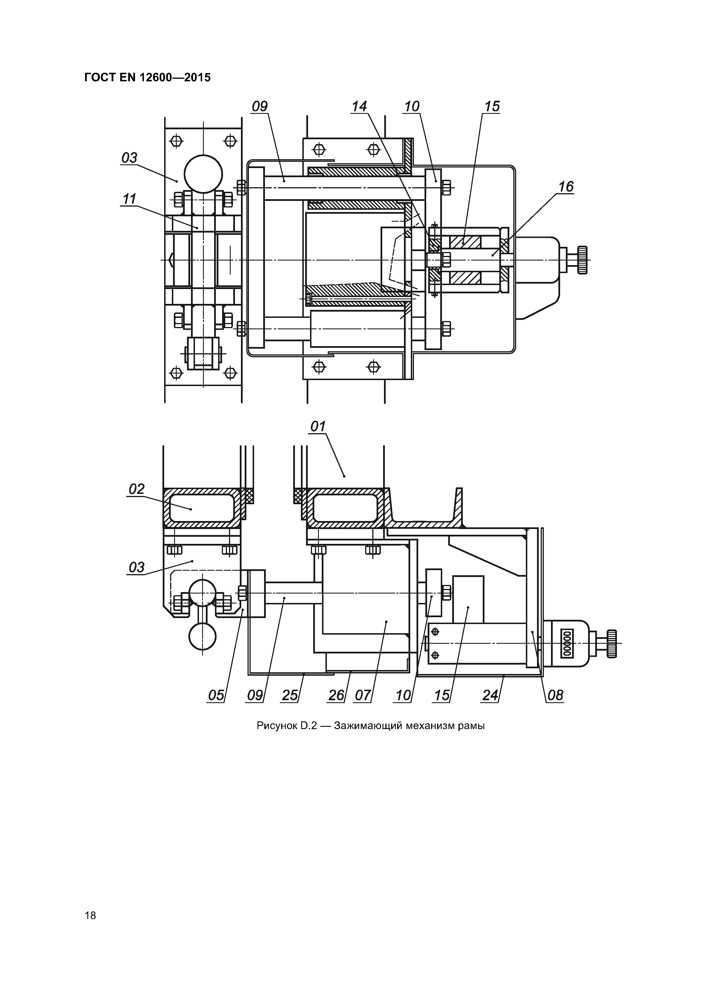
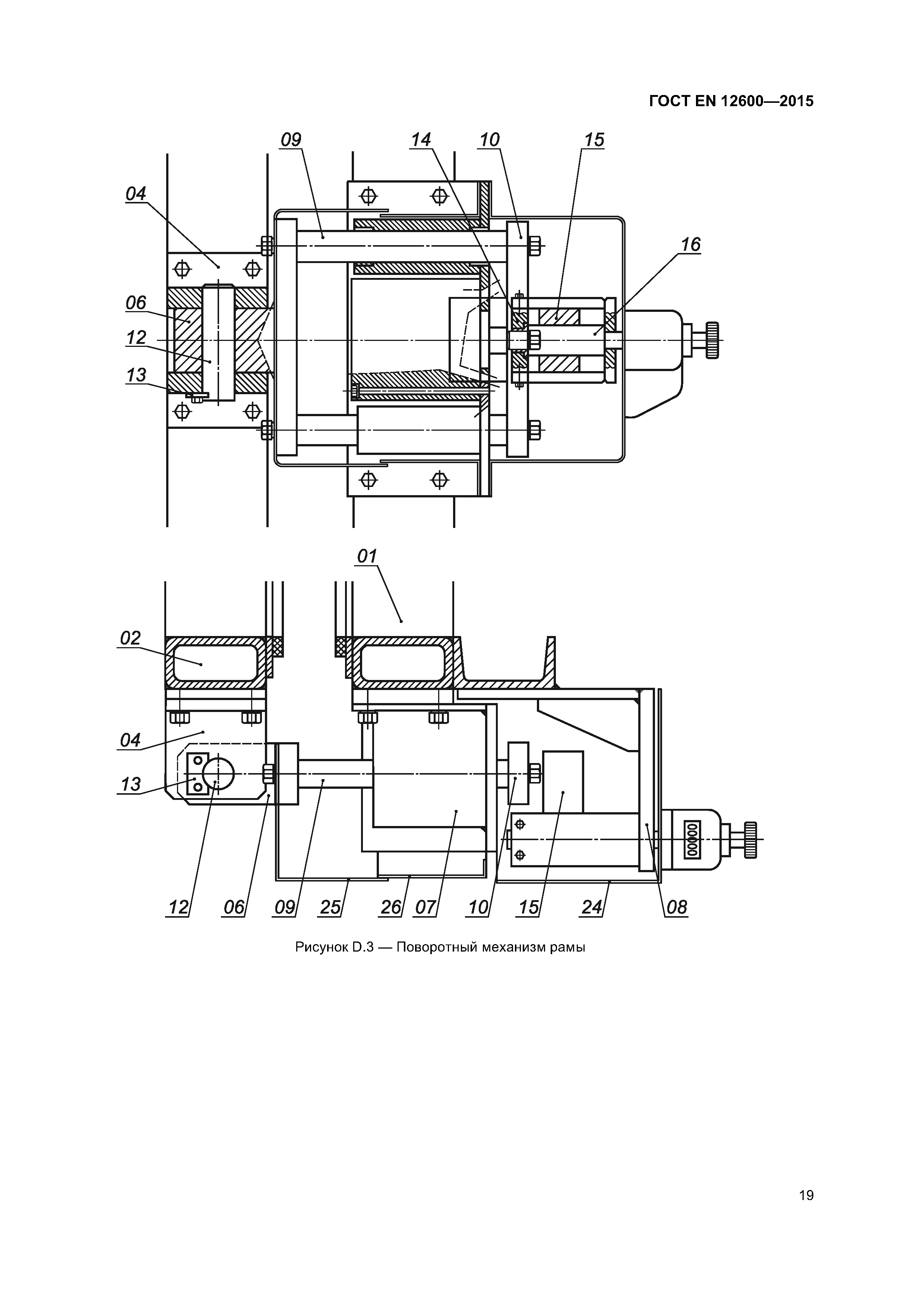
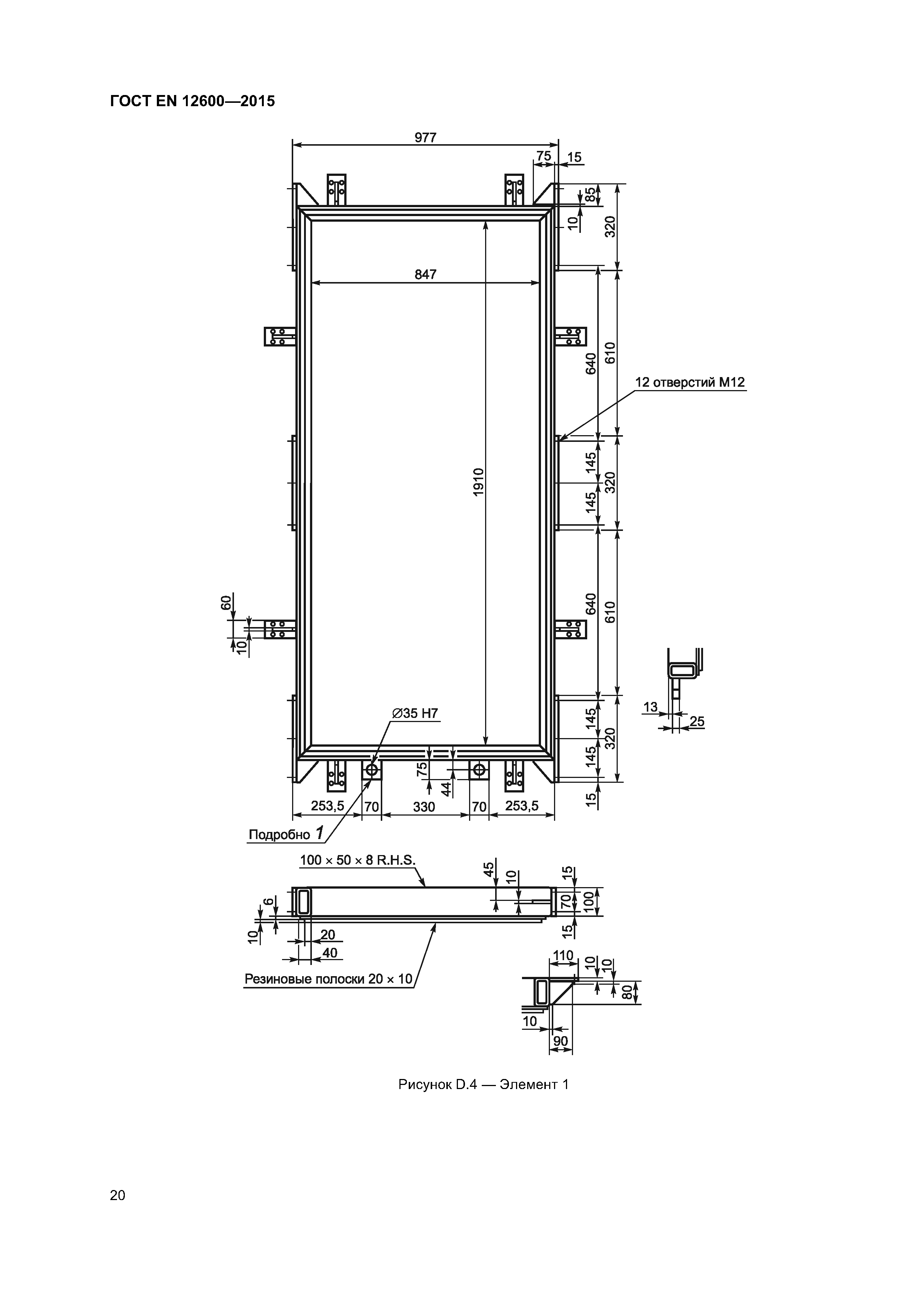
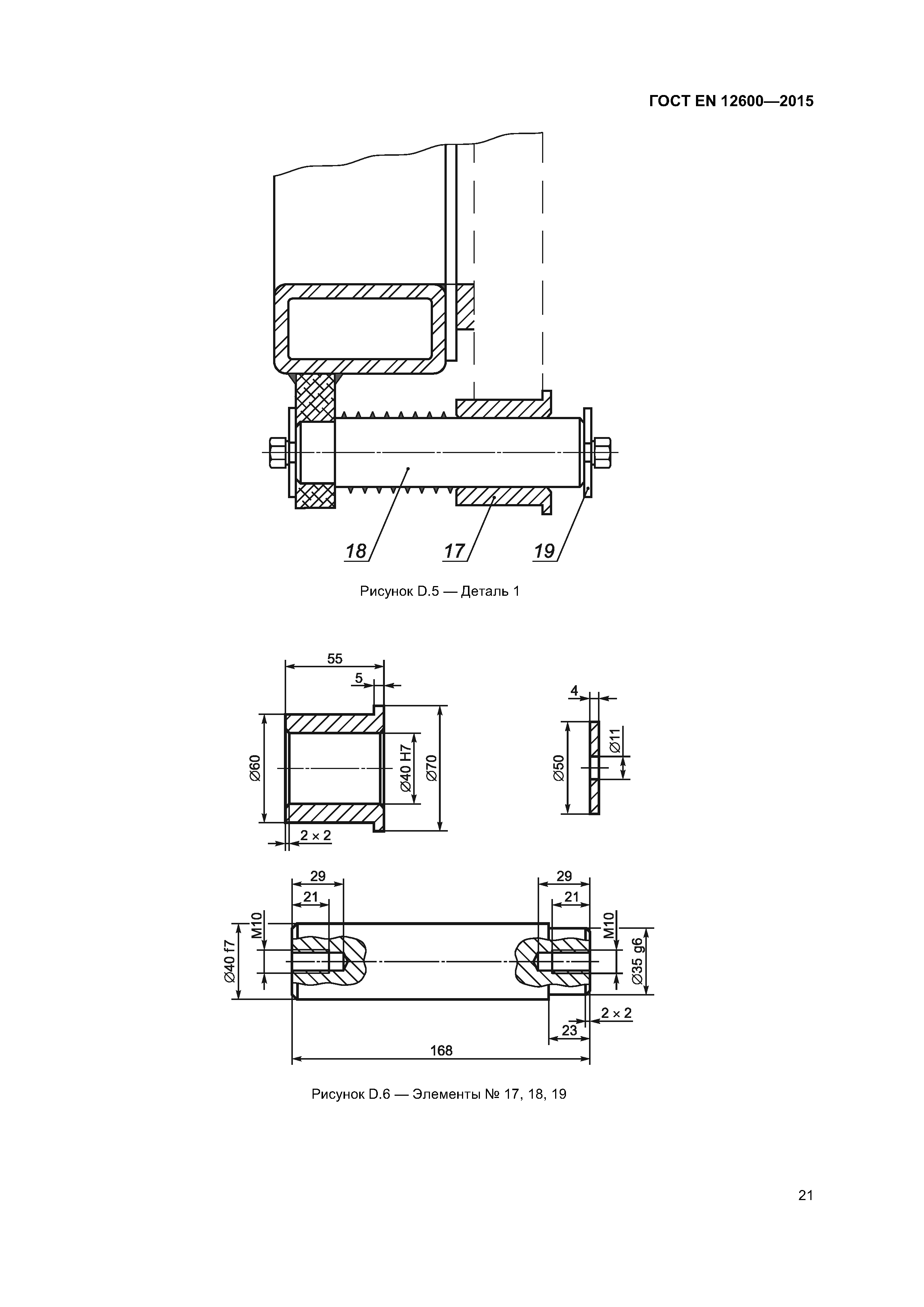
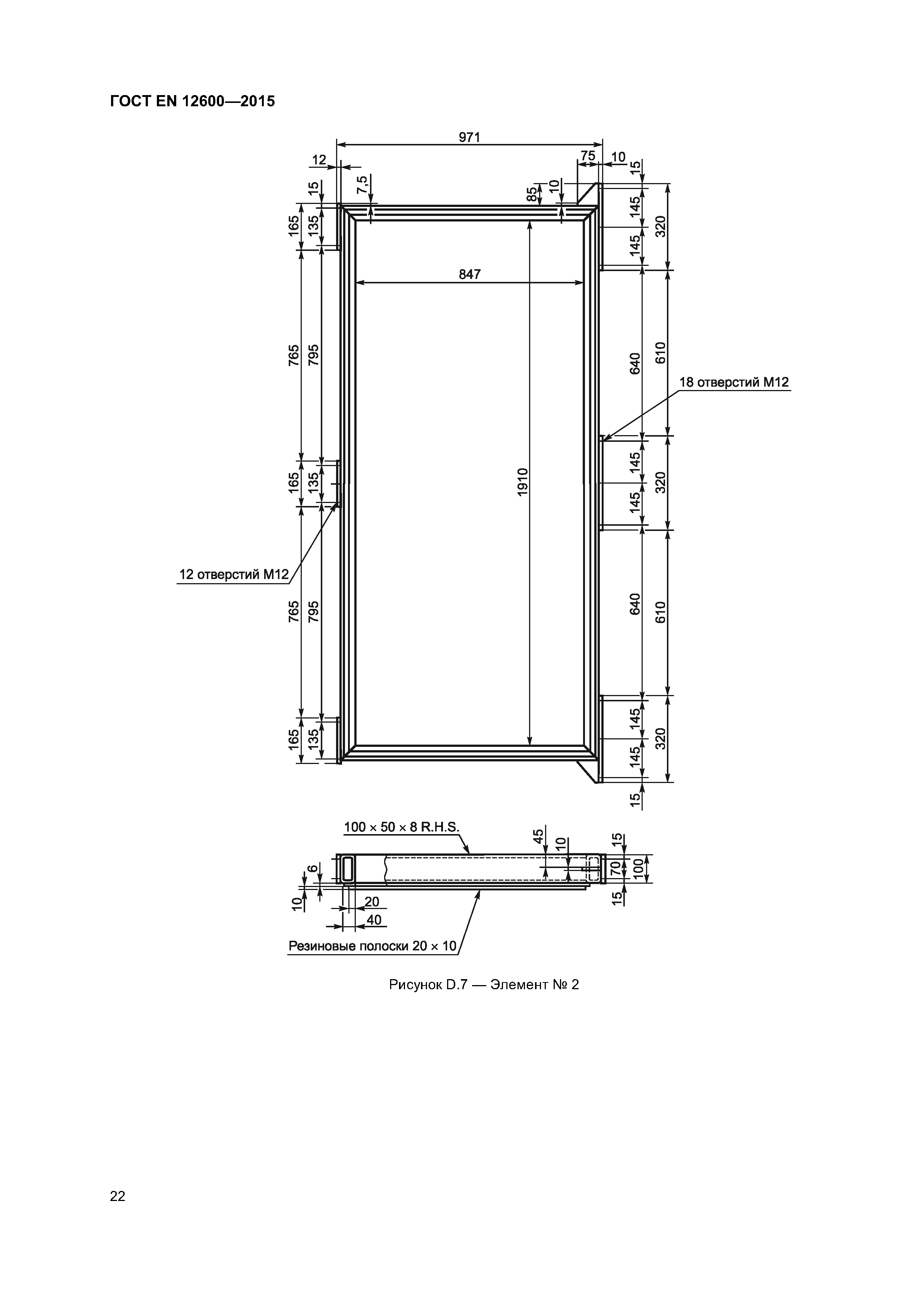
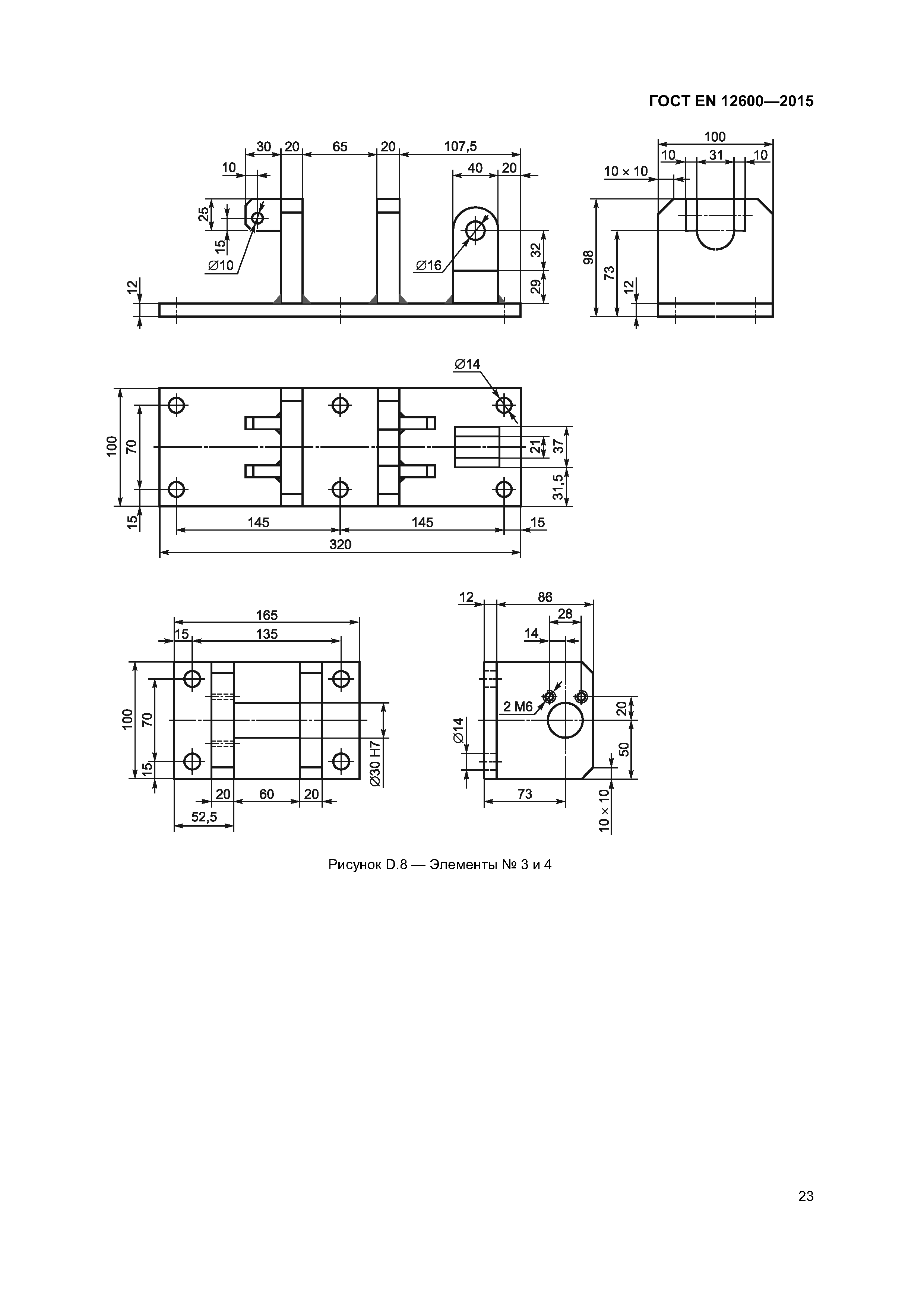
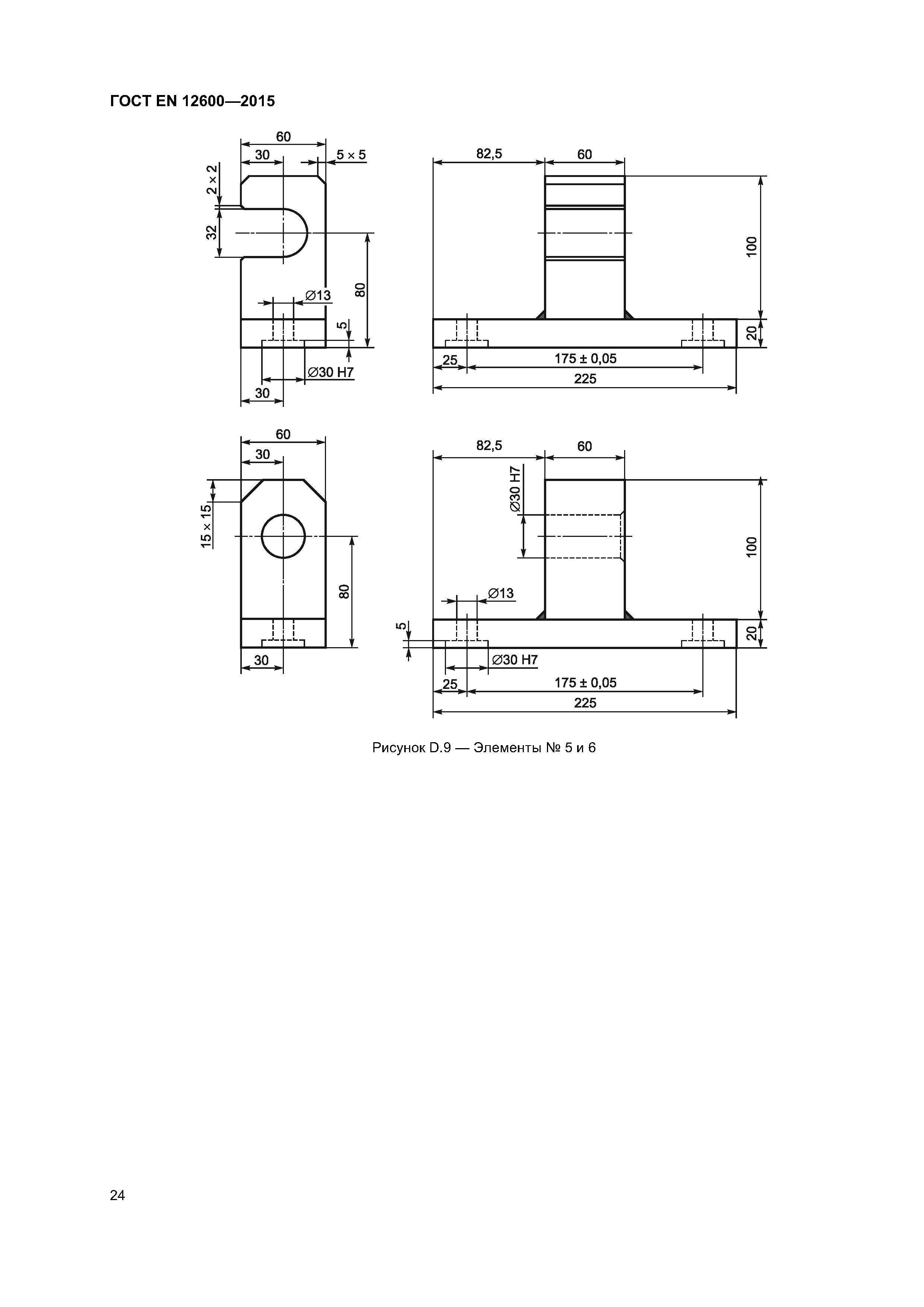
Настоящий стандарт устанавливает метод испытания ударным телом для отдельных плоских стекол, применяемых в строительстве. Метод предназначен для классификации изделий из стекла по трем основным классам с учетом характеристик воздействия и образовавшихся осколков. Настоящий стандарт не устанавливает требования к применению и долговечности
Связи и замены
Заменяющий:
-
Описание стандарта
ГОСТ EN 12600-2015 Cтекло и изделия из него. Метод испытания на стойкость к удару двойной шиной
Страницы стандарта



































