ГОСТ Р 54165-2010 Стекло и изделия из него. Методы определения тепловых характеристик. Метод определения сопротивления теплопередаче
ГОСТ Р
Скачать ГОСТ в PDF или DOC бесплатно
Основная информация
Обозначение:
ГОСТ Р 54165-2010
Статус:
Отменен
Тип:
ГОСТ Р
Название русское:
Стекло и изделия из него. Методы определения тепловых характеристик. Метод определения сопротивления теплопередаче
Название английское:
Glass and glass products. Thermal properties determination methods. Thermal resistance determination method
Даты и сроки
Дата издания:
02-03-12
Дата введения в действие:
07-01-12
Дата завершения срока действия:
04-01-16
Применение и описание
Область и условия применения:
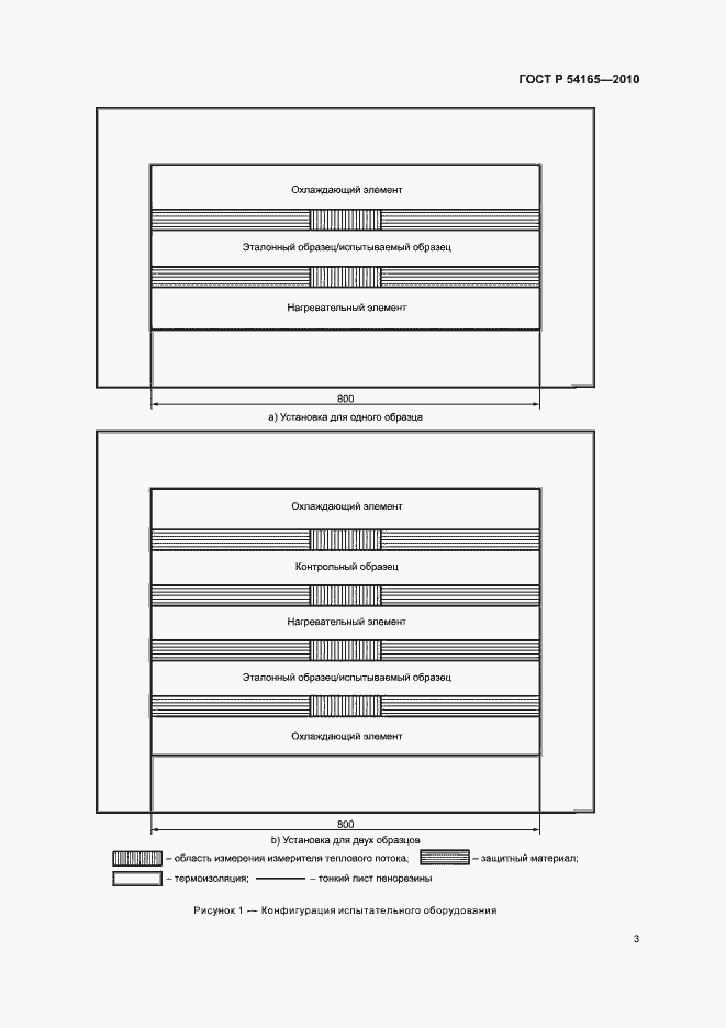
Настоящий стандарт устанавливает способ измерения, используемый для определения величин сопротивления теплопередаче и коэффициента теплопередачи многослойного остекления с плоскими и параллельными поверхностями. Поверхности с рельефом, такие как узорчатое стекло, также могут рассматриваться как плоские. Настоящий стандарт применим к многослойному остеклению с внешними листами, которые непрозрачны для излучения в дальнем инфракрасном диапазоне, что выполняется в случае обычного стекла. Вместе с тем, внутренние элементы остекления могут быть прозрачными в дальнем инфракрасном диапазоне. Настоящий стандарт позволяет определить величины R (сопротивление теплопередаче) и U (коэффициент теплопередачи) в центральной области многослойного остекления. Краевые эффекты, связанные с тепловым мостиком через дистанционную рамку клееного стеклопакета или раму не рассматриваются. Кроме того, передача энергии за счет солнечного излучения также не учитывается
Связи и замены
Заменяющий:
-
Изменения и переиздания
Список изменений:
№0 от (рег. ) «Текстовое изменение; Изменено заглавие»
Описание стандарта
ГОСТ Р 54165-2010 Стекло и изделия из него. Методы определения тепловых характеристик. Метод определения сопротивления теплопередаче
Страницы стандарта











