ГОСТ 1566-71 Изделия огнеупорные динасовые для электросталеплавильных печей. Технические условия
ГОСТ
Скачать ГОСТ в PDF или DOC бесплатно
Основная информация
Обозначение:
ГОСТ 1566-71
Статус:
Заменен
Тип:
ГОСТ
Название русское:
Изделия огнеупорные динасовые для электросталеплавильных печей. Технические условия
Название английское:
Refractory silica products for electrical steelmelting furnaces. Specifications
Даты и сроки
Дата издания:
05-01-98
Дата введения в действие:
01-01-73
Дата завершения срока действия:
07-01-00
Применение и описание
Область и условия применения:
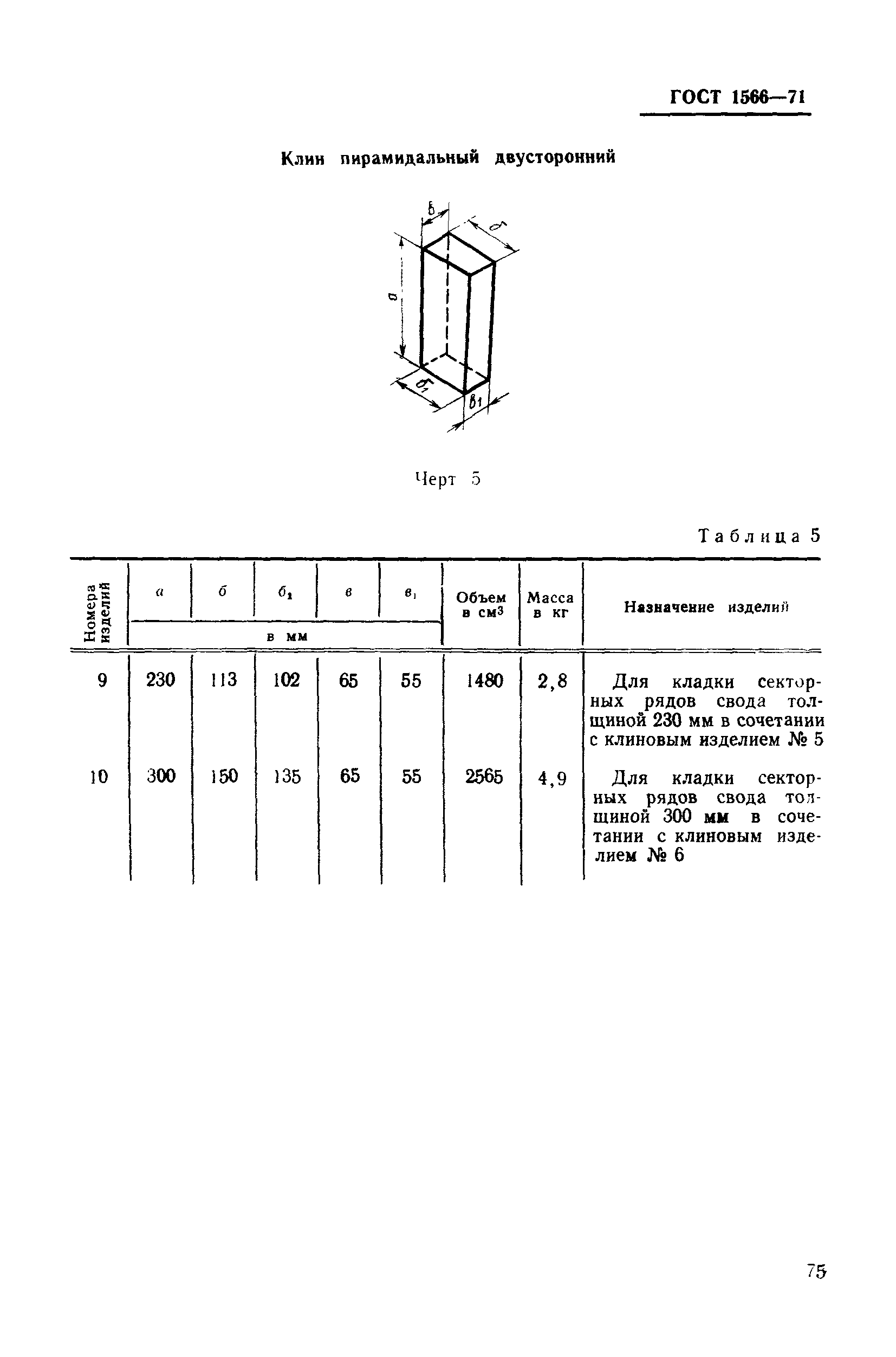
Настоящий стандарт распространяется на огнеупорные динасовые изделия, предназначенные для кладки сводов и арок электросталеплавильных печей
Связи и замены
Заменяющий:
ГОСТ 1566-96
Взамен:
ГОСТ 1566-50
Изменения и переиздания
Список изменений:
№1 от (рег. ) «Срок действия продлен» №2 от (рег. ) «Срок действия продлен» №3 от (рег. ) «Срок действия продлен»
Описание стандарта
ГОСТ 1566-71 Изделия огнеупорные динасовые для электросталеплавильных печей. Технические условия
Страницы стандарта
















