ГОСТ 8691-2018 Изделия огнеупорные общего назначения. Форма и размеры
ГОСТ
Скачать ГОСТ в PDF или DOC бесплатно
Основная информация
Обозначение:
ГОСТ 8691-2018
Статус:
Действует
Тип:
ГОСТ
Название русское:
Изделия огнеупорные общего назначения. Форма и размеры
Название английское:
Refractory products of general use. Form and size
Даты и сроки
Дата регистрации:
06-27-18
Дата издания:
10-04-18
Дата введения в действие:
02-01-19
Дата завершения срока действия:
-
Применение и описание
Область и условия применения:
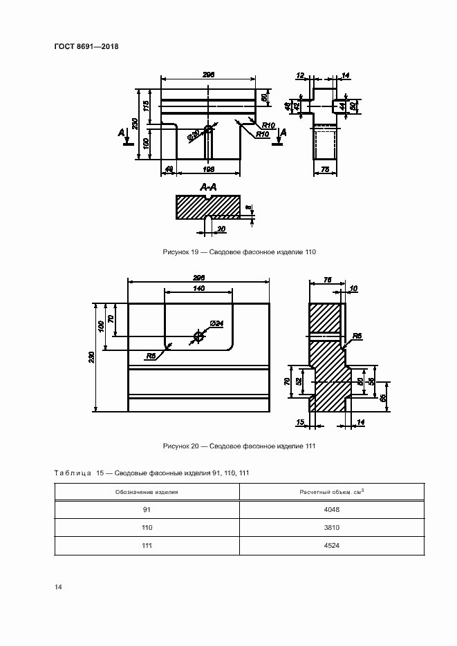
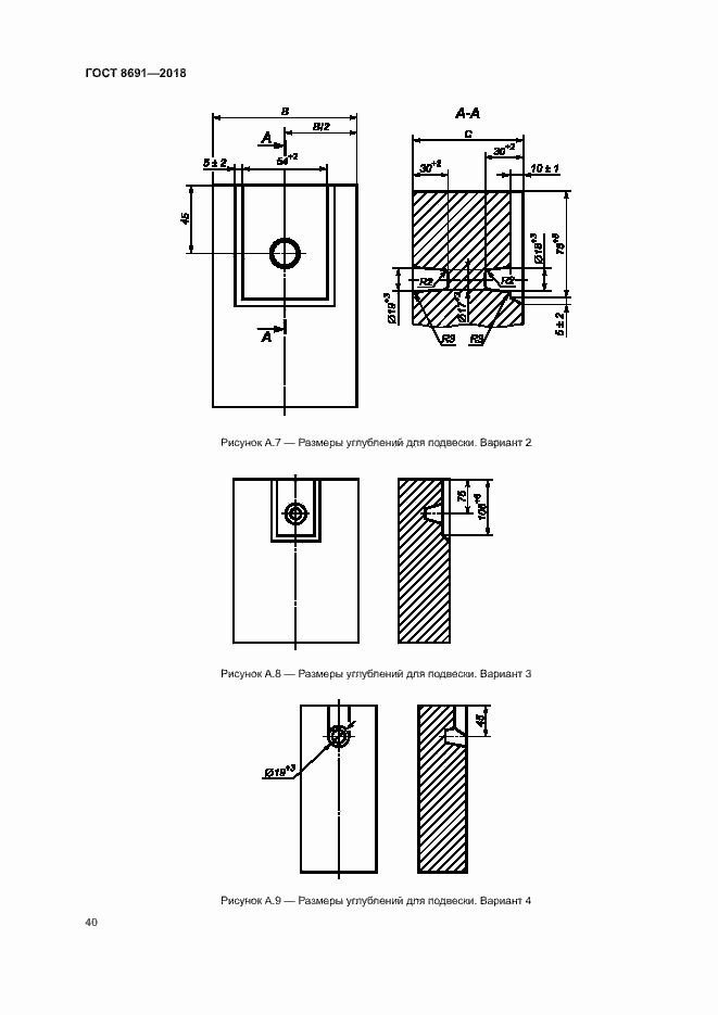
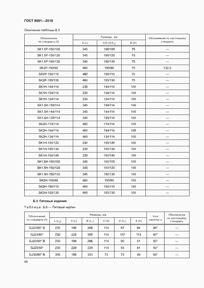
Настоящий стандарт устанавливает форму и размеры огнеупорных изделий общего назначения, применяемых для футеровки различных тепловых агрегатов
Связи и замены
Заменяющий:
-
Взамен:
ГОСТ 8691-73
Описание стандарта
ГОСТ 8691-2018 Изделия огнеупорные общего назначения. Форма и размеры
Страницы стандарта




















































