ГОСТ Р 51262.4-99 Изделия огнеупорные фасонные общего назначения. Форма и размеры
ГОСТ Р
Скачать ГОСТ в PDF или DOC бесплатно
Основная информация
Обозначение:
ГОСТ Р 51262.4-99
Статус:
Отменен
Тип:
ГОСТ Р
Название русское:
Изделия огнеупорные фасонные общего назначения. Форма и размеры
Название английское:
Refractory shaped products of general use. Form and sizes
Даты и сроки
Дата издания:
04-01-03
Дата введения в действие:
01-01-00
Дата завершения срока действия:
02-01-19
Применение и описание
Область и условия применения:
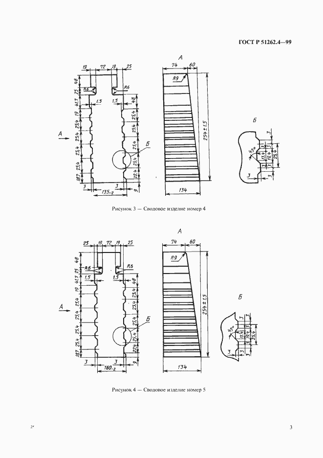
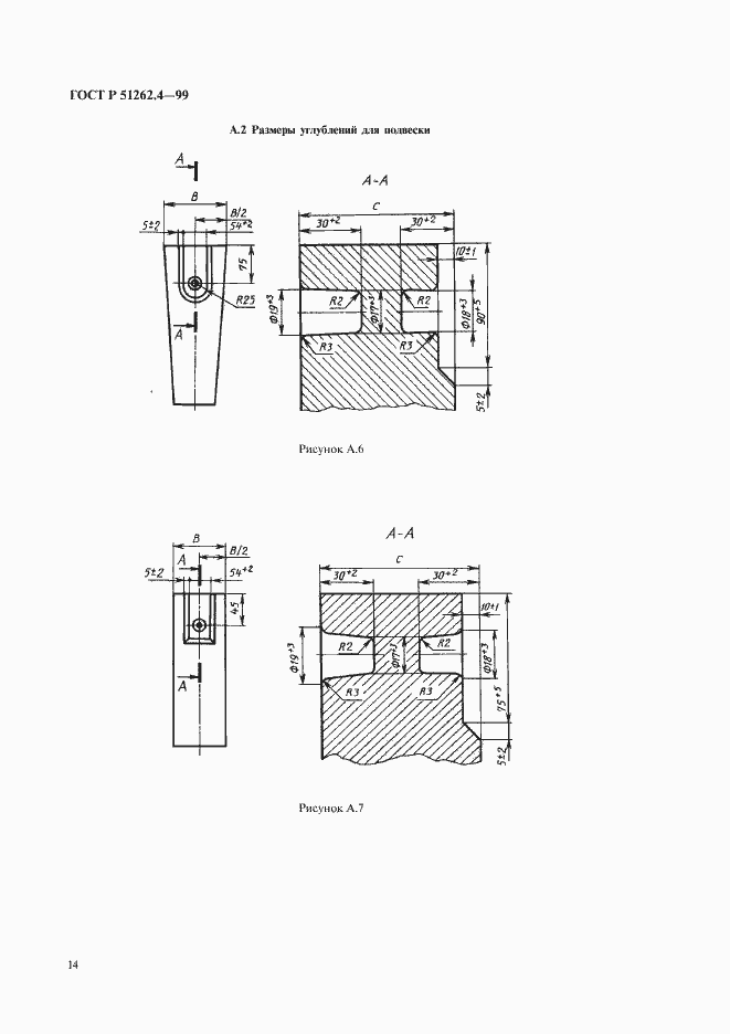
Настоящий стандарт устанавливает форму и размеры огнеупорных фасонных изделий общего назначения, применяемых для футеровки различных тепловых агрегатов
Связи и замены
Заменяющий:
-
Изменения и переиздания
Список изменений:
№0 от (рег. ) «Текстовое изменение; Изменено заглавие»
Описание стандарта
ГОСТ Р 51262.4-99 Изделия огнеупорные фасонные общего назначения. Форма и размеры
Страницы стандарта


















