ГОСТ 5500-75 Изделия огнеупорные стопорные для разливки стали из ковша. Технические условия
ГОСТ
Скачать ГОСТ в PDF или DOC бесплатно
Основная информация
Обозначение:
ГОСТ 5500-75
Статус:
Заменен
Тип:
ГОСТ
Название русское:
Изделия огнеупорные стопорные для разливки стали из ковша. Технические условия
Название английское:
High-duty and refractories for steel pouring. Specifications
Даты и сроки
Дата издания:
06-01-82
Дата введения в действие:
01-01-77
Дата завершения срока действия:
03-01-02
Применение и описание
Область и условия применения:
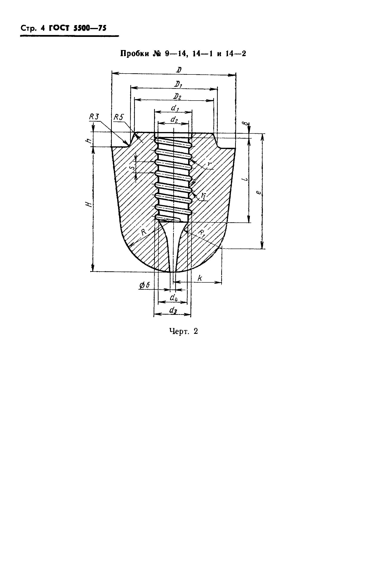
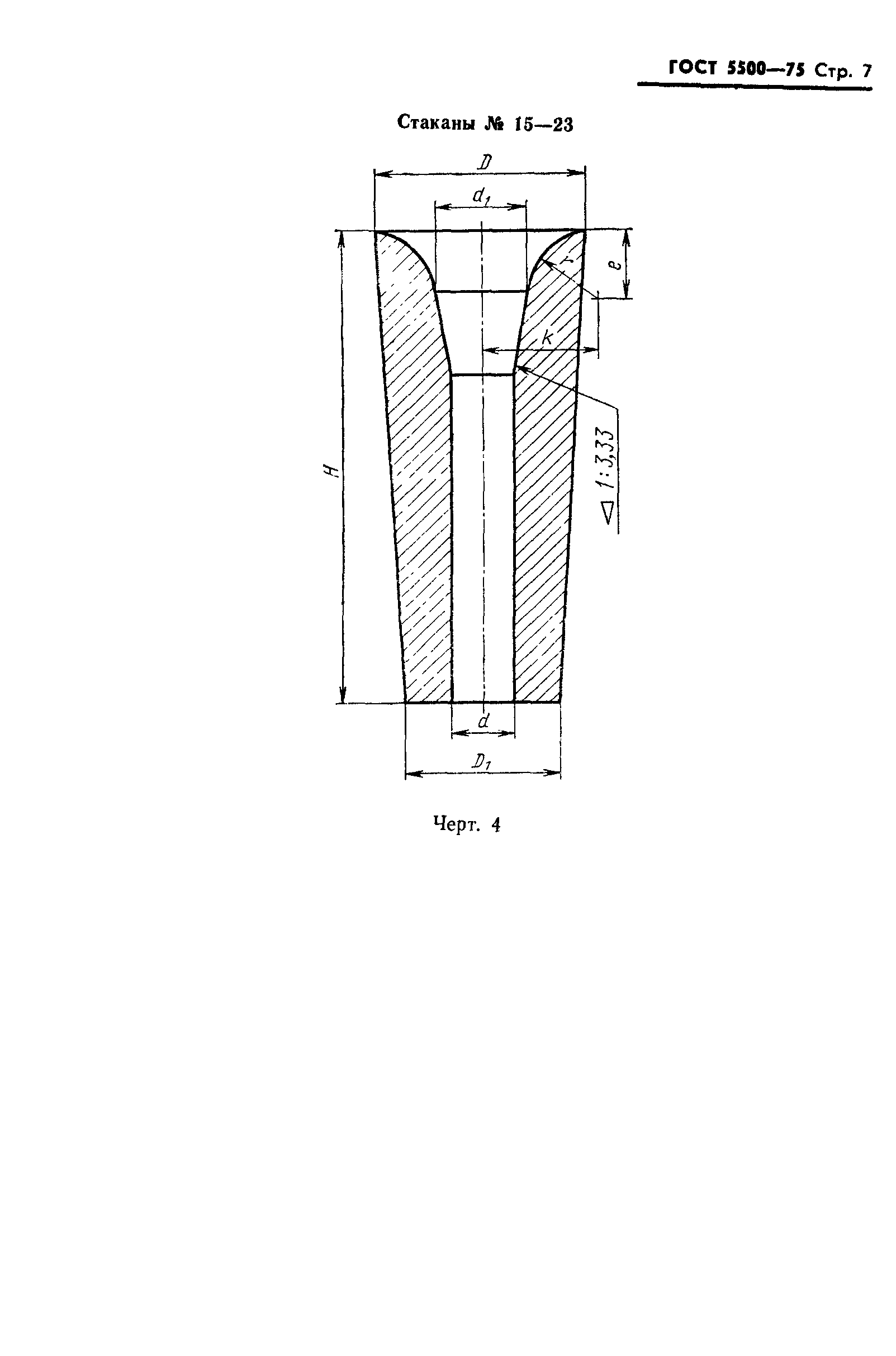
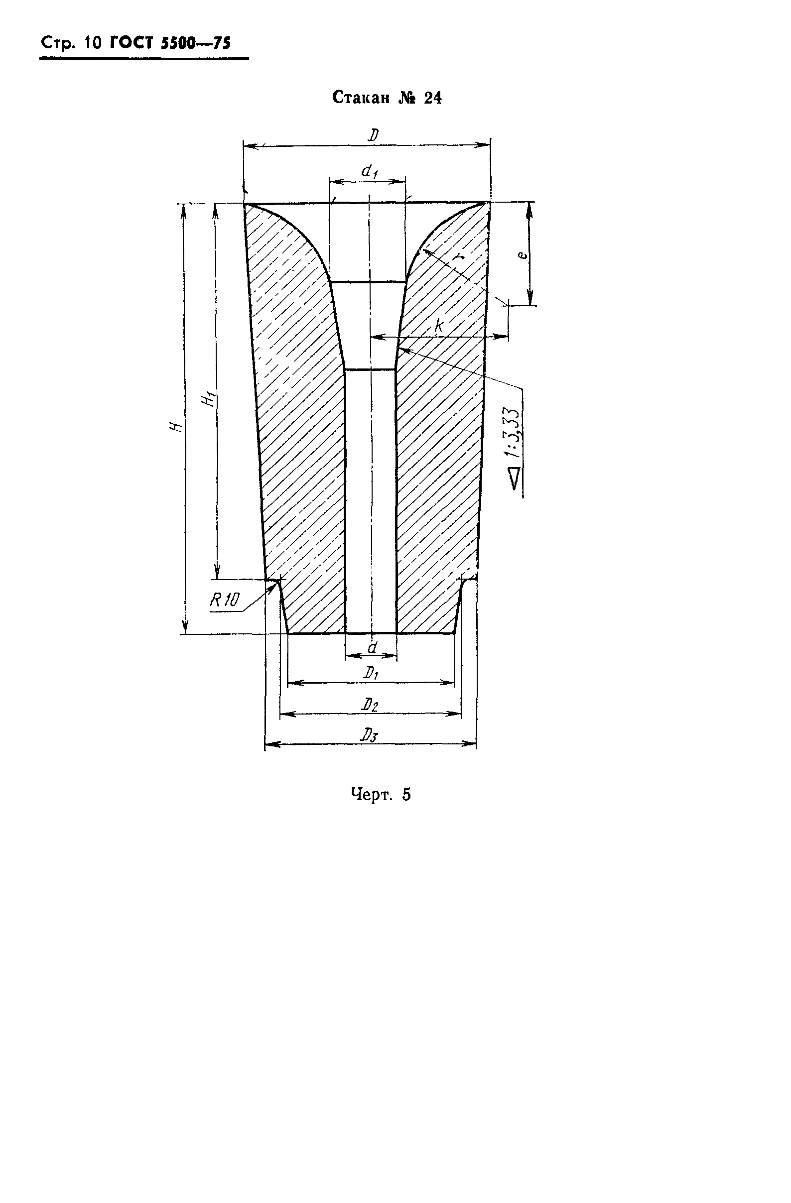
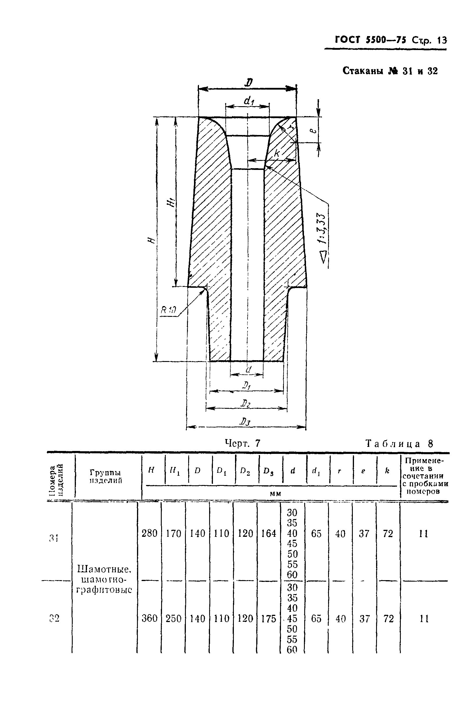
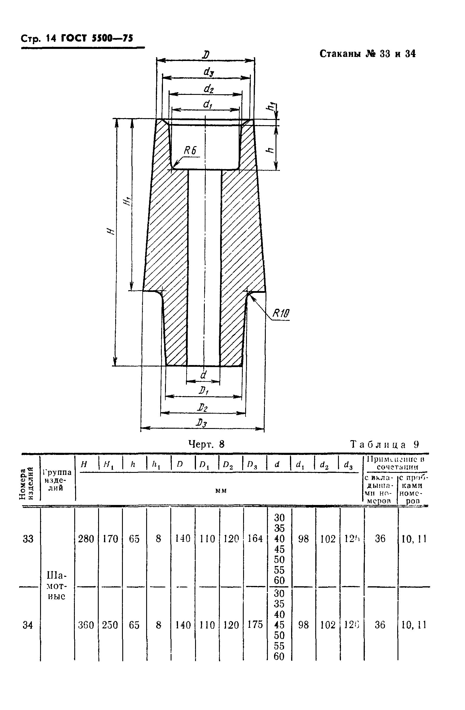
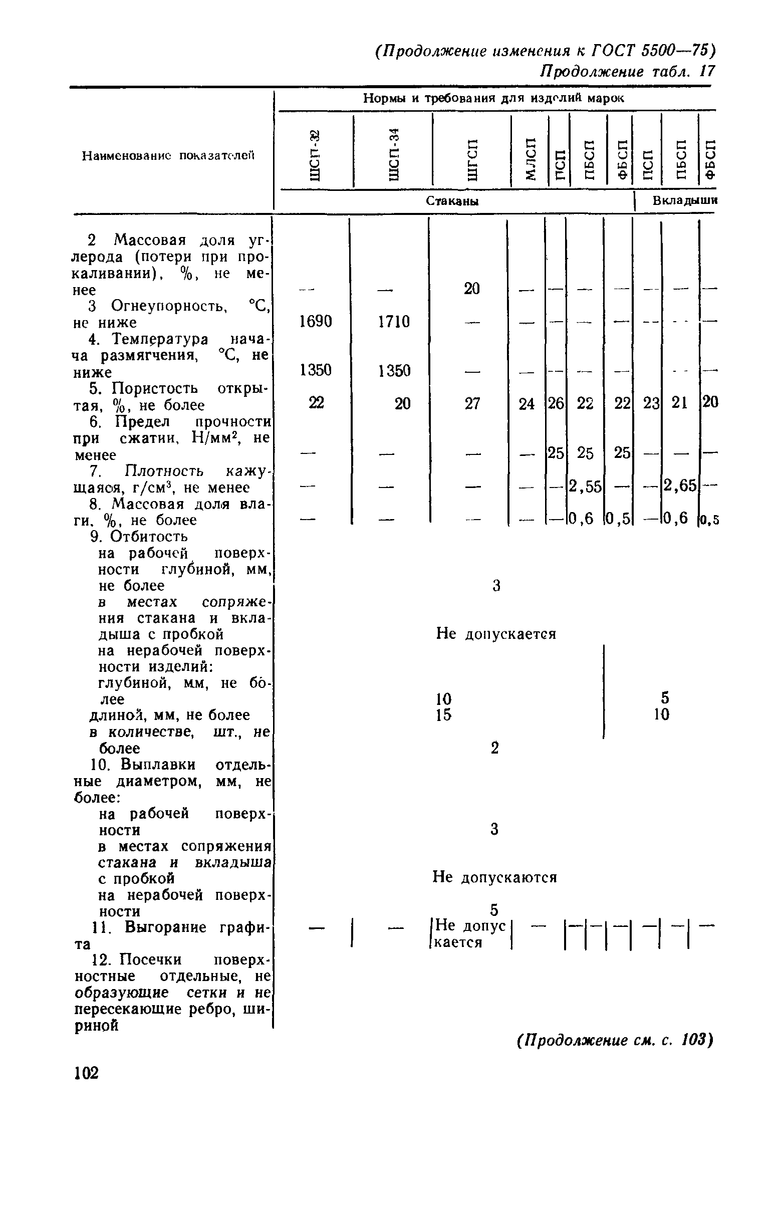
Настоящий стандарт распространяется на огнеупорные стопорные изделия для разливки стали из ковша: стопорные трубки, пробки, стаканы, вкладыши к стаканам и гнездовой кирпич
Связи и замены
Заменяющий:
ГОСТ 5500-2001
Взамен:
ГОСТ 5500-64
Изменения и переиздания
Список изменений:
№1 от (рег. ) «Срок действия продлен» №2 от (рег. ) «Срок действия продлен» №3 от (рег. ) «Срок действия продлен» №4 от (рег. ) «Срок действия продлен»
Описание стандарта
ГОСТ 5500-75 Изделия огнеупорные стопорные для разливки стали из ковша. Технические условия
Страницы стандарта





















































