ГОСТ 270-75 Резина. Метод определения упругопрочностных свойств при растяжении
ГОСТ
Скачать ГОСТ в PDF или DOC бесплатно
Основная информация
Обозначение:
ГОСТ 270-75
Статус:
Действует
Тип:
ГОСТ
Название русское:
Резина. Метод определения упругопрочностных свойств при растяжении
Название английское:
Rubber. Method of the determination elastic and tensile stress-strain properties
Даты и сроки
Дата издания:
07-01-08
Дата введения в действие:
01-01-78
Дата завершения срока действия:
-
Применение и описание
Область и условия применения:
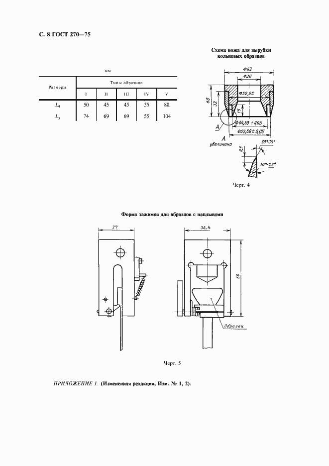
Настоящий стандарт распространяется на резину и устанавливает метод определения упругопрочностных свойств при растяжении по показателям: прочности при растяжении, относительному удлинению при разрыве, напряжению при заданном удлинении
Связи и замены
Заменяющий:
-
Взамен:
ГОСТ 270-64
Изменения и переиздания
Список изменений:
№1 от (рег. ) «Срок действия продлен» №2 от (рег. ) «Срок действия продлен» №3 от (рег. ) «Срок действия продлен»
Описание стандарта
ГОСТ 270-75 Резина. Метод определения упругопрочностных свойств при растяжении
Страницы стандарта










