ГОСТ 27896-88 Резины, полимерные эластичные материалы, прорезиненные ткани и ткани с полимерным эластичным покрытием. Методы определения топливопроницаемости
ГОСТ
Скачать ГОСТ в PDF или DOC бесплатно
Основная информация
Обозначение:
ГОСТ 27896-88
Статус:
Действует
Тип:
ГОСТ
Название русское:
Резины, полимерные эластичные материалы, прорезиненные ткани и ткани с полимерным эластичным покрытием. Методы определения топливопроницаемости
Название английское:
Rubbers, polimer elastie materials, rubberized and elastie polimer coated fabries. Methods for determination of fuel permeability
Даты и сроки
Дата издания:
02-24-89
Дата введения в действие:
06-30-90
Дата завершения срока действия:
-
Применение и описание
Область и условия применения:
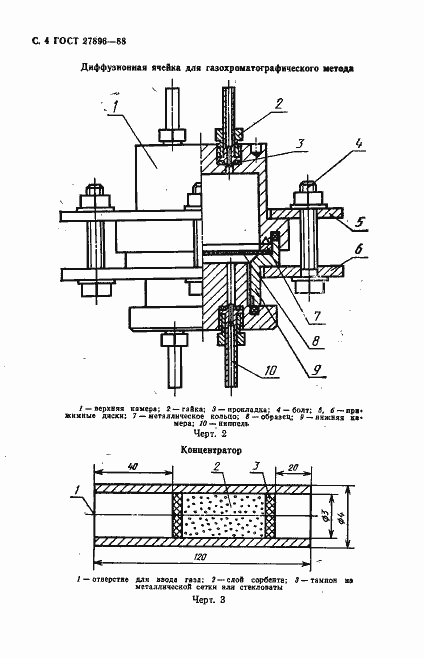
Настоящий стандарт распространяется на резины, полимерные эластичные материалы, прорезиненные ткани, ткани с полимерным эластичным покрытием (далее - ткани) и изделия из них и устанавливает гравиметрический и газохроматографический методы определения проницаемости топлив (дизельных, реактивных), бензинов, индивидуальных жидких углеводородов и их смесей. Сущность гравиметрического метода заключается в определении изменения массы испытуемой среды, прошедшей через образец материала за определенное время, газохроматографического - в концентрации испытуемой среды, продиффундировавшей через материал за определенное время, на сорбенте с последующей термической десорбцией и количественном определении методом газовой хроматографии. Методы предназначены для контрольных и исследовательских испытаний
Связи и замены
Заменяющий:
-
Описание стандарта
ГОСТ 27896-88 Резины, полимерные эластичные материалы, прорезиненные ткани и ткани с полимерным эластичным покрытием. Методы определения топливопроницаемости
Страницы стандарта


















