ГОСТ 19109-84 Пластмассы. Метод определения ударной вязкости по Изоду
ГОСТ
Скачать ГОСТ в PDF или DOC бесплатно
Основная информация
Обозначение:
ГОСТ 19109-84
Статус:
Заменен
Тип:
ГОСТ
Название русское:
Пластмассы. Метод определения ударной вязкости по Изоду
Название английское:
Plastics. Method for determination of Izod impact strength
Даты и сроки
Дата издания:
12-04-84
Дата введения в действие:
06-30-85
Дата завершения срока действия:
10-01-18
Применение и описание
Область и условия применения:
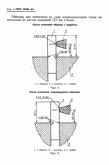
Настоящий стандарт распространяется на пластмассы и устанавливает метод определения ударной вязкости по Изоду. Стандарт не распространяется на ячеистые пластмассы
Связи и замены
Заменяющий:
ГОСТ 19109-2017
Взамен:
ГОСТ 19109-73
Описание стандарта
ГОСТ 19109-84 Пластмассы. Метод определения ударной вязкости по Изоду
Страницы стандарта










