ГОСТ 34250-2017 Пластмассы. Метод определения прочности при ударном растяжении
ГОСТ
Скачать ГОСТ в PDF или DOC бесплатно
Основная информация
Обозначение:
ГОСТ 34250-2017
Статус:
Действует
Тип:
ГОСТ
Название русское:
Пластмассы. Метод определения прочности при ударном растяжении
Название английское:
Plastics. Determination of tensile-impact strength
Даты и сроки
Дата регистрации:
11-30-17
Дата издания:
01-15-18
Дата введения в действие:
07-01-18
Дата завершения срока действия:
-
Применение и описание
Область и условия применения:
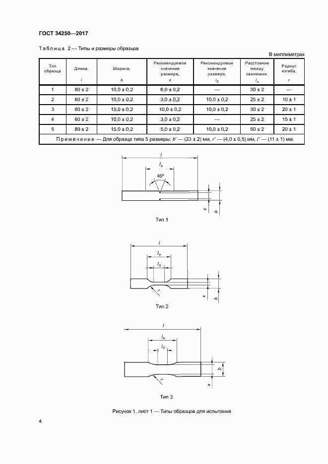
Настоящий стандарт устанавливает два метода (А и В) определения прочности пластмасс при ударном растяжении при заданных условиях. Данные методы можно использовать для жестких пластмасс, но рекомендуется их использовать для испытания очень гибких или тонких материалов, например тонких листов взамен испытаний по ГОСТ 4647 или ГОСТ 19109. Данные методы используют для изучения поведения образцов пластмасс для испытания при указанных скоростях удара и, для оценки хрупкости или жесткости образцов при заданных условиях испытания. Испытания проводят как на образцах для испытаний, изготовленных из пластмасс различными методами, так и на образцах для испытаний, вырезанных из готовой продукции или полуфабрикатов (например изделий, ламината, листов, изготовленных методами экструзии или литья). Результаты, полученные при испытаниях образцов, изготовленных из пластмасс и имеющих различные размеры, могут не совпадать. Результаты, полученные при испытаниях образцов, вырезанных из готовых изделий или полуфабрикатов, могут отличаться от результатов испытаний
Связи и замены
Заменяющий:
-
Описание стандарта
ГОСТ 34250-2017 Пластмассы. Метод определения прочности при ударном растяжении
Страницы стандарта





















Приложение №1: Поправка к ГОСТ 34250-2017 Обозначение: Поправка к ГОСТ 34250-2017 Дата введения в действие: 24.05.2019
