ГОСТ Р 57924-2017 Композиты полимерные. Методы определения горючести материалов для авиационной техники
ГОСТ Р
Скачать ГОСТ в PDF или DOC бесплатно
Основная информация
Обозначение:
ГОСТ Р 57924-2017
Статус:
Действует
Тип:
ГОСТ Р
Название русское:
Композиты полимерные. Методы определения горючести материалов для авиационной техники
Название английское:
Polymer composites. Methods for determination of flammability of the materials for used in aviation technics
Даты и сроки
Дата издания:
11-25-17
Дата введения в действие:
06-01-18
Дата завершения срока действия:
-
Применение и описание
Область и условия применения:
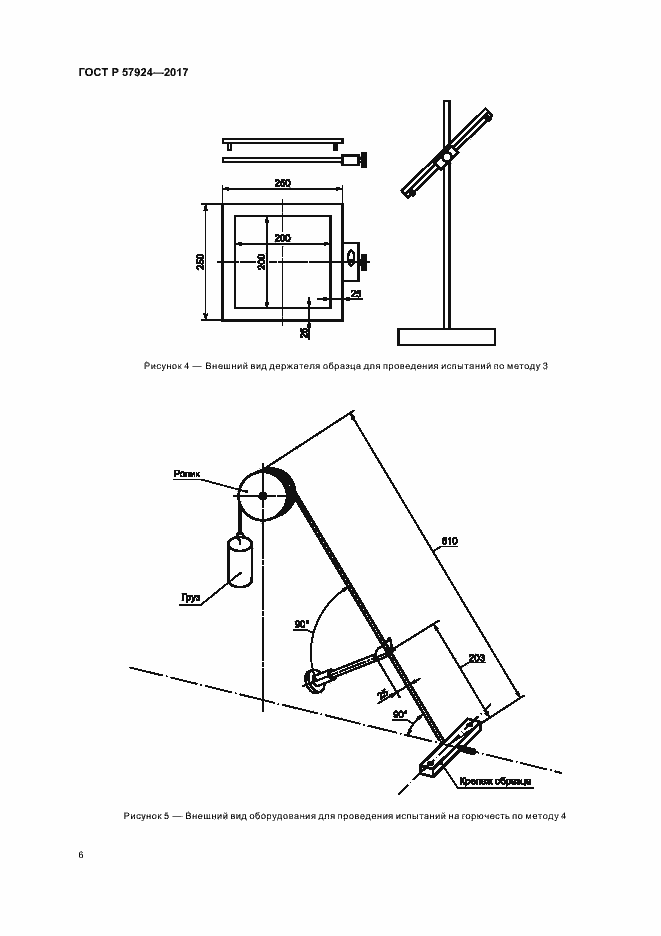
Настоящий стандарт распространяется на полимерные композиты, предназначенные для применения в конструкциях или отделке авиационной техники. Стандарт устанавливает методы определения характеристик горючести полимерных композитов
Связи и замены
Заменяющий:
-
Описание стандарта
ГОСТ Р 57924-2017 Композиты полимерные. Методы определения горючести материалов для авиационной техники
Страницы стандарта


















