ГОСТ 24434-80 Панели слоистые с утеплителем из пенопластов для стен и покрытий зданий. Пенопласты. Метод определения усадки
ГОСТ
Скачать ГОСТ в PDF или DOC бесплатно
Основная информация
Обозначение:
ГОСТ 24434-80
Статус:
Утратил силу в РФ
Тип:
ГОСТ
Название русское:
Панели слоистые с утеплителем из пенопластов для стен и покрытий зданий. Пенопласты. Метод определения усадки
Название английское:
Laminated wall and roof panels with plastic foam thermal insulation. Plastic foams. Method of determining shrinkage
Даты и сроки
Дата издания:
03-17-81
Дата введения в действие:
01-01-82
Дата завершения срока действия:
09-01-22
Применение и описание
Область и условия применения:
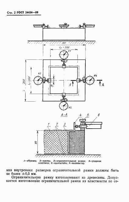
Настоящий стандарт распространяется на слоистые панели с конструкционным утеплителем из заливочных пенопластов (с листами из металла, асбоцемента, древесноволокнистых и древесностружечных плит, фанеры, стеклопластиков и др.) для стен и покрытий зданий и устанавливает метод определения технологической усадки утеплителя, появляющейся после формования пенопласта в полости панелей
Связи и замены
Заменяющий:
-
Описание стандарта
ГОСТ 24434-80 Панели слоистые с утеплителем из пенопластов для стен и покрытий зданий. Пенопласты. Метод определения усадки
Страницы стандарта






