ГОСТ 3303-94 Грелки резиновые. Технические условия
ГОСТ
Скачать ГОСТ в PDF или DOC бесплатно
Основная информация
Обозначение:
ГОСТ 3303-94
Статус:
Действует
Тип:
ГОСТ
Название русское:
Грелки резиновые. Технические условия
Название английское:
Rabber hot-water bottles. Specifications
Даты и сроки
Дата регистрации:
10-21-94
Дата издания:
10-09-00
Дата введения в действие:
01-01-01
Дата завершения срока действия:
-
Применение и описание
Область и условия применения:
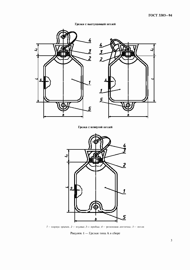
Настоящий стандарт распространяется на резиновые грелки, предназначенные для местного согревания тела, промывания и спринцевания, поставляемые для народного хозяйства и на экспорт
Связи и замены
Заменяющий:
-
Взамен:
ГОСТ 3303-82
Описание стандарта
ГОСТ 3303-94 Грелки резиновые. Технические условия
Страницы стандарта














