ГОСТ 28966.2-91 Клеи полимерные. Метод определения прочности при отслаивании
ГОСТ
Скачать ГОСТ в PDF или DOC бесплатно
Основная информация
Обозначение:
ГОСТ 28966.2-91
Статус:
Действует
Тип:
ГОСТ
Название русское:
Клеи полимерные. Метод определения прочности при отслаивании
Название английское:
Polymer adhesives. Method of determining peel strength
Даты и сроки
Дата издания:
09-01-04
Дата введения в действие:
01-01-92
Дата завершения срока действия:
-
Применение и описание
Область и условия применения:
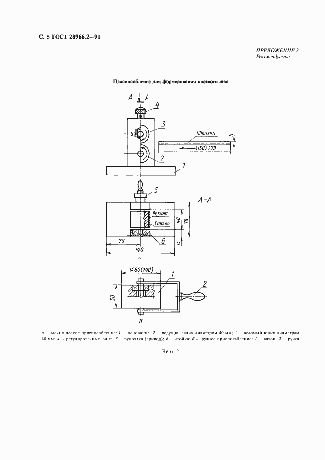
Настоящий стандарт распространяется на полимерные клеи и устанавливает метод определения прочности при отслаивании клеевых соединений гибких пленочных материалов от жестких листовых и плоских материалов. Стандарт не распространяется на резиновые клеи
Связи и замены
Заменяющий:
-
Описание стандарта
ГОСТ 28966.2-91 Клеи полимерные. Метод определения прочности при отслаивании
Страницы стандарта











