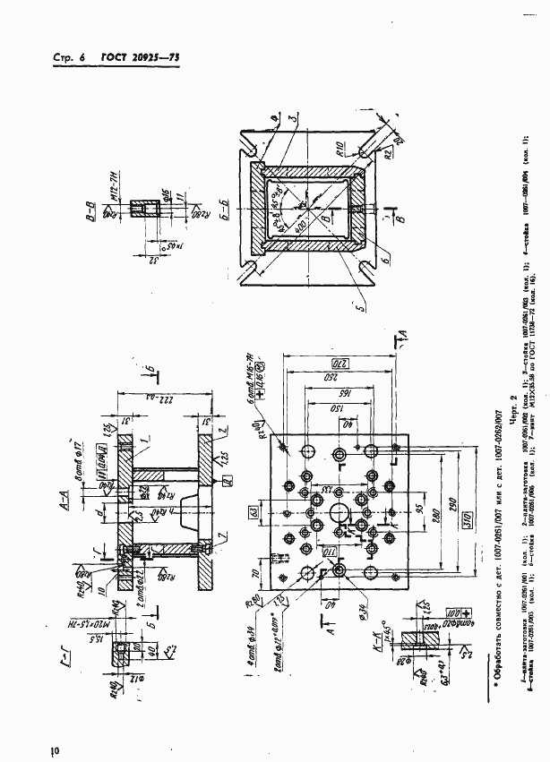
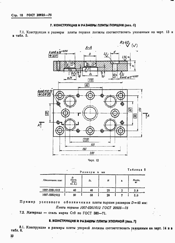
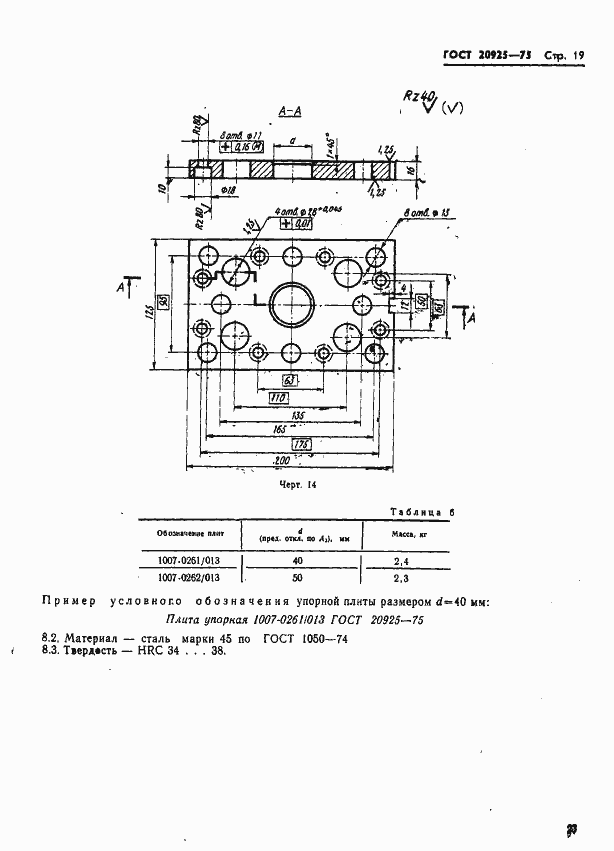
ГОСТ 20925-75 Блоки сменных пресс-форм с нижней загрузочной камерой для прессования изделий из реактопластов. Конструкция и размеры
ГОСТ
Скачать ГОСТ в PDF или DOC бесплатно
Основная информация
Обозначение:
ГОСТ 20925-75
Статус:
Действует
Тип:
ГОСТ
Название русское:
Блоки сменных пресс-форм с нижней загрузочной камерой для прессования изделий из реактопластов. Конструкция и размеры
Название английское:
Units of changeable press-moulds with lowpositioned loading chamber for moulding thermoset articles. Construction and dimensions
Даты и сроки
Дата издания:
10-24-75
Дата введения в действие:
06-30-76
Дата завершения срока действия:
-
Применение и описание
Область и условия применения:
Настоящий стандарт распространяется на блоки сменных пресс-форм с нижней загрузочной камерой для литьевого прессования изделий из реактопластов
Связи и замены
Заменяющий:
-
Взамен:
МН 1515-61
Изменения и переиздания
Список изменений:
№1 от (рег. ) «Срок действия продлен» №2 от (рег. ) «Срок действия продлен»
Описание стандарта
ГОСТ 20925-75 Блоки сменных пресс-форм с нижней загрузочной камерой для прессования изделий из реактопластов. Конструкция и размеры
Страницы стандарта






































