ГОСТ 20926-75 Блок сменных пресс-форм прямого прессования изделий из реактопластов. Конструкция и размеры
ГОСТ
Скачать ГОСТ в PDF или DOC бесплатно
Основная информация
Обозначение:
ГОСТ 20926-75
Статус:
Действует
Тип:
ГОСТ
Название русское:
Блок сменных пресс-форм прямого прессования изделий из реактопластов. Конструкция и размеры
Название английское:
Unit for changeable compression moulding thermoset articles press-moulds. Construction and dimensions
Даты и сроки
Дата издания:
10-24-75
Дата введения в действие:
06-30-76
Дата завершения срока действия:
-
Применение и описание
Область и условия применения:
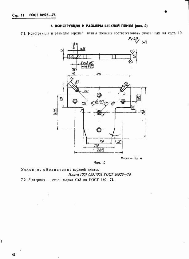
Настоящий стандарт устанавливает конструкцию и размеры блока сменных пресс-форм прямого прессования изделий из реактопластов
Связи и замены
Заменяющий:
-
Изменения и переиздания
Список изменений:
№1 от (рег. ) «Срок действия продлен» №2 от (рег. ) «Срок действия продлен»
Описание стандарта
ГОСТ 20926-75 Блок сменных пресс-форм прямого прессования изделий из реактопластов. Конструкция и размеры
Страницы стандарта






















