ГОСТ 24271-80 Шарниры под сварку на кассетные пресс-формы для изготовления резинотехнических изделий. Конструкция и размеры
ГОСТ
Скачать ГОСТ в PDF или DOC бесплатно
Основная информация
Обозначение:
ГОСТ 24271-80
Статус:
Действует
Тип:
ГОСТ
Название русское:
Шарниры под сварку на кассетные пресс-формы для изготовления резинотехнических изделий. Конструкция и размеры
Название английское:
Joints welding on plates of bar press moulds for manufacturing of industrial rubber articles. Design and dimensions
Даты и сроки
Дата издания:
07-01-86
Дата введения в действие:
01-01-81
Дата завершения срока действия:
-
Применение и описание
Область и условия применения:
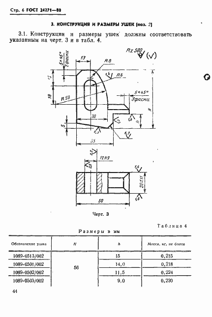
Настоящий стандарт устанавливает конструкцию и размеры шарниров
Связи и замены
Заменяющий:
-
Изменения и переиздания
Список изменений:
№1 от (рег. ) «Срок действия продлен»
Описание стандарта
ГОСТ 24271-80 Шарниры под сварку на кассетные пресс-формы для изготовления резинотехнических изделий. Конструкция и размеры
Страницы стандарта






