ГОСТ 24317-80 Блоки двухкассетных пресс-форм для изготовления резинотехнических изделий. Конструкция и размеры
ГОСТ
Скачать ГОСТ в PDF или DOC бесплатно
Основная информация
Обозначение:
ГОСТ 24317-80
Статус:
Действует
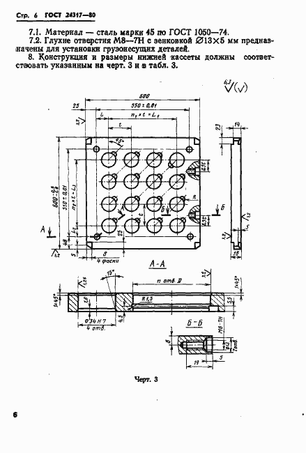
Тип:
ГОСТ
Название русское:
Блоки двухкассетных пресс-форм для изготовления резинотехнических изделий. Конструкция и размеры
Название английское:
Blocks of cassetts press moulds for producing the rubber technical parts. Design and dimensions
Даты и сроки
Дата издания:
09-30-80
Дата введения в действие:
01-01-82
Дата завершения срока действия:
-
Применение и описание
Область и условия применения:
Настоящий стандарт распространяется на блоки двухкассетных многоместных пресс-форм для изготовления резинотехнических изделий на вулканизационных прессах с размерами греющих плит 600х600 мм, оборудованных перезарядчиками
Связи и замены
Заменяющий:
-
Описание стандарта
ГОСТ 24317-80 Блоки двухкассетных пресс-форм для изготовления резинотехнических изделий. Конструкция и размеры
Страницы стандарта











