ГОСТ 24340-80 Пресс-формы съемные многоместные для изготовления резинотканевых нажимных колец. Конструкция и размеры
ГОСТ
Скачать ГОСТ в PDF или DOC бесплатно
Основная информация
Обозначение:
ГОСТ 24340-80
Статус:
Действует
Тип:
ГОСТ
Название русское:
Пресс-формы съемные многоместные для изготовления резинотканевых нажимных колец. Конструкция и размеры
Название английское:
Portable single-impression press moulds for manufacturing rubber-fabric locking rings. Design and dimensions
Даты и сроки
Дата издания:
11-01-03
Дата введения в действие:
01-01-82
Дата завершения срока действия:
-
Применение и описание
Область и условия применения:
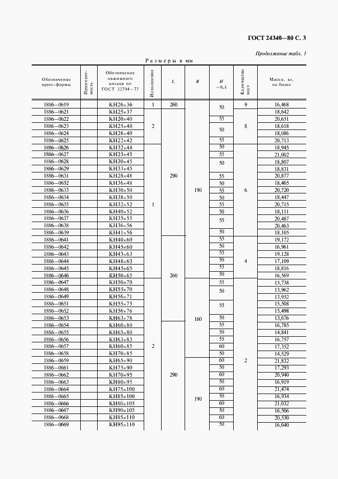
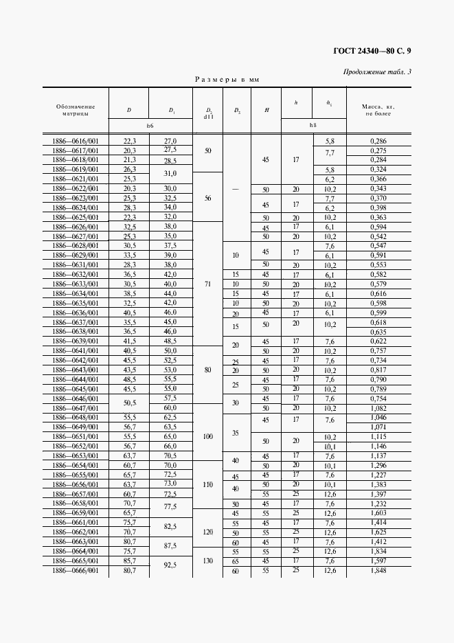
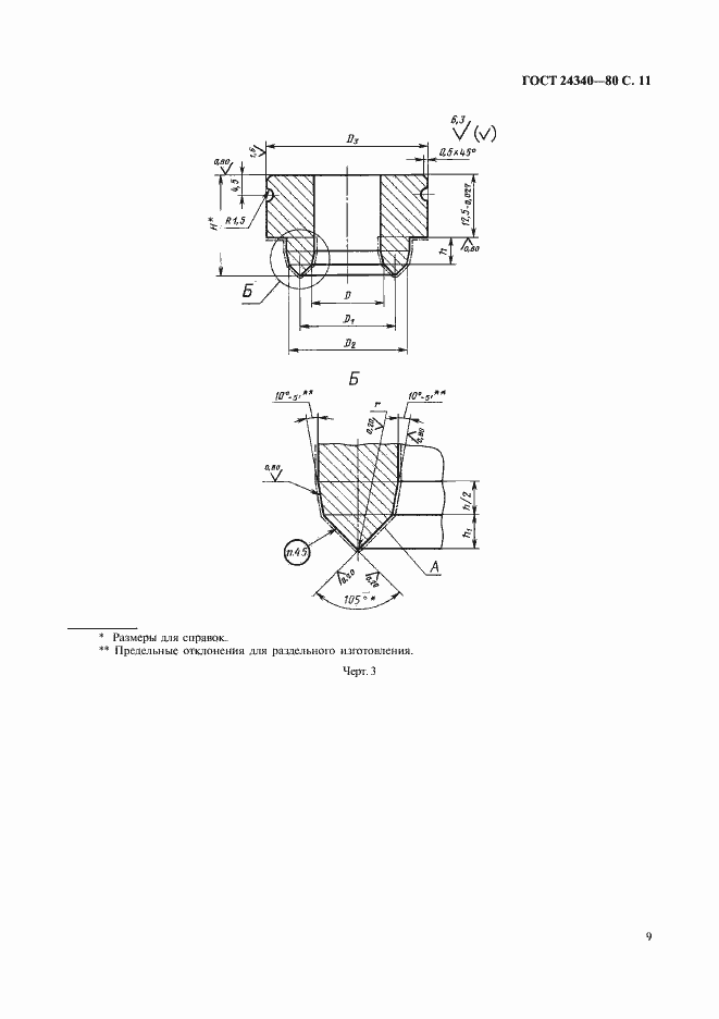
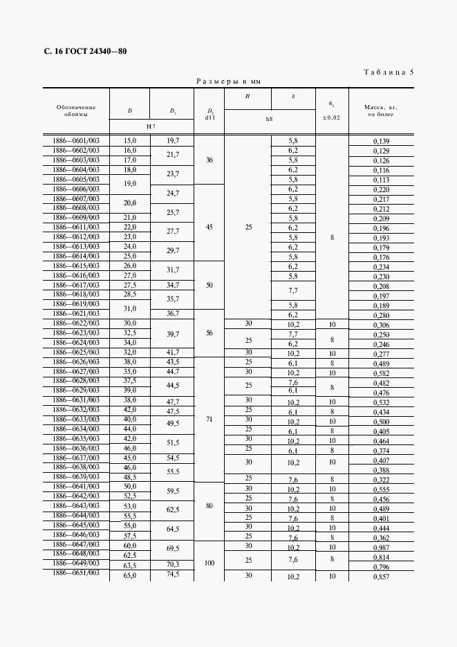
Настоящий стандарт распространяется на съемные многоместные пресс-формы для изготовления резинотканевых нажимных колец для уплотнения штоков диаметром от 8 до 95 мм и цилиндров диаметром от 20 до 110 мм
Связи и замены
Заменяющий:
-
Изменения и переиздания
Список изменений:
№1 от (рег. ) «Срок действия продлен»
Описание стандарта
ГОСТ 24340-80 Пресс-формы съемные многоместные для изготовления резинотканевых нажимных колец. Конструкция и размеры
Страницы стандарта


















