ГОСТ 24516-80 Пакеты быстросменные с горизонтальным разъемом пресс-форм для изготовления резиновых колец круглого сечения. Конструкция и размеры
ГОСТ
Скачать ГОСТ в PDF или DOC бесплатно
Основная информация
Обозначение:
ГОСТ 24516-80
Статус:
Действует
Тип:
ГОСТ
Название русское:
Пакеты быстросменные с горизонтальным разъемом пресс-форм для изготовления резиновых колец круглого сечения. Конструкция и размеры
Название английское:
Packets quick-changing with horisontal break of press-moulds for manufacturing of rubber O-rings section. Construction and dimensions
Даты и сроки
Дата издания:
01-01-82
Дата введения в действие:
01-01-83
Дата завершения срока действия:
-
Применение и описание
Область и условия применения:
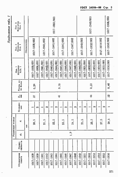
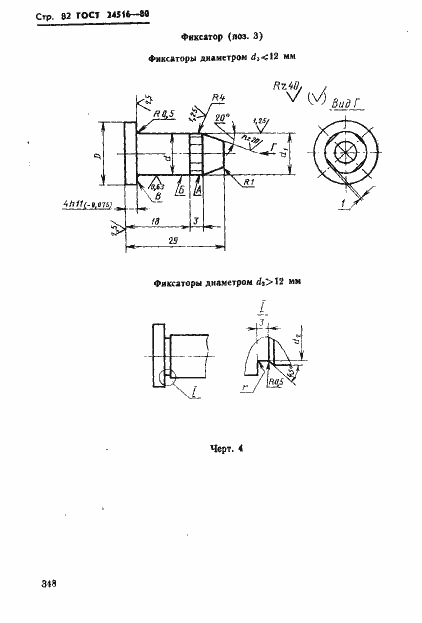
Настоящий стандарт распространяется на быстросменные пакеты с горизонтальным разъемом ( угол разъема 180 град.) компрессионных универсальных пресс-форм для изготовления из резиновых смесей с процентом усадки до 4,3 резиновых уплотнительных колец круглого сечения с внутренними диаметрами от 10,0 до 116,0 мм и диаметрами сечения от 1,9 до 7,5 мм
Связи и замены
Заменяющий:
-
Изменения и переиздания
Список изменений:
№1 от (рег. ) «Срок действия продлен»
Описание стандарта
ГОСТ 24516-80 Пакеты быстросменные с горизонтальным разъемом пресс-форм для изготовления резиновых колец круглого сечения. Конструкция и размеры
Страницы стандарта























































































