ГОСТ 24611-81 Плиты модельные кассетные. Основные параметры и размеры
ГОСТ
Скачать ГОСТ в PDF или DOC бесплатно
Основная информация
Обозначение:
ГОСТ 24611-81
Статус:
Действует
Тип:
ГОСТ
Название русское:
Плиты модельные кассетные. Основные параметры и размеры
Название английское:
Magazine pattern plates. Basic parameters and dimensions
Даты и сроки
Дата издания:
04-28-81
Дата введения в действие:
06-30-82
Дата завершения срока действия:
-
Применение и описание
Область и условия применения:
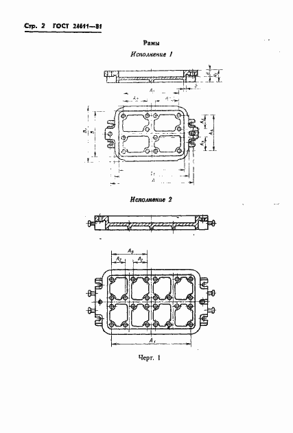
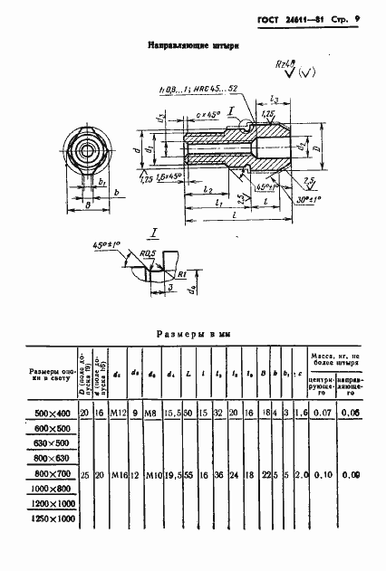
Настоящий стандарт распространяется на модельные кассетные плиты для машинной формовки, применяемые для изготовления песчаных литейных форм на встряхивающих формовочных машинах. Настоящий стандарт не распространяется на плиты, применяемые при формовке различными методами прессования смеси при давлении свыше 0,5 МПа (5,1 кгс/см кв.), а также на модельные плиты с подогревом, применяемые при литье в оболочковые формы
Связи и замены
Заменяющий:
-
Изменения и переиздания
Список изменений:
№1 от (рег. ) «Срок действия продлен»
Описание стандарта
ГОСТ 24611-81 Плиты модельные кассетные. Основные параметры и размеры
Страницы стандарта















