ГОСТ 25109-82 Блоки трехкассетных пресс-форм для изготовления резинотехнических изделий на прессах с размерами греющих плит 400х400 мм. Конструкция и размеры
ГОСТ
Скачать ГОСТ в PDF или DOC бесплатно
Основная информация
Обозначение:
ГОСТ 25109-82
Статус:
Действует
Тип:
ГОСТ
Название русское:
Блоки трехкассетных пресс-форм для изготовления резинотехнических изделий на прессах с размерами греющих плит 400х400 мм. Конструкция и размеры
Название английское:
Blocks of three-casetta press moulds for producing the rubber technical parts on presses with dimensions heating plates 400x400 mm. Design and dimensions
Даты и сроки
Дата издания:
04-13-82
Дата введения в действие:
01-01-84
Дата завершения срока действия:
-
Применение и описание
Область и условия применения:
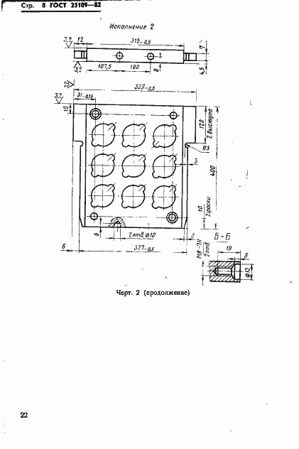
Настоящий стандарт распространяется на блоки трехкассетных пресс-форм в исполнениях 1 и 2 для изготовления резино-технических изделий на вулканизационных прессах с размерами греющих плит 400х400 мм
Связи и замены
Заменяющий:
-
Описание стандарта
ГОСТ 25109-82 Блоки трехкассетных пресс-форм для изготовления резинотехнических изделий на прессах с размерами греющих плит 400х400 мм. Конструкция и размеры
Страницы стандарта















