ГОСТ 25479-82 Пакеты трехкассетных пресс-форм для изготовления шевронных резинотканевых манжет. Конструкция и размеры
ГОСТ
Скачать ГОСТ в PDF или DOC бесплатно
Основная информация
Обозначение:
ГОСТ 25479-82
Статус:
Действует
Тип:
ГОСТ
Название русское:
Пакеты трехкассетных пресс-форм для изготовления шевронных резинотканевых манжет. Конструкция и размеры
Название английское:
Packets of three-cassets press moulds for manufacturing the rubber-fabric chevron cuffs. Design and dimensions
Даты и сроки
Дата издания:
01-19-83
Дата введения в действие:
01-01-84
Дата завершения срока действия:
-
Применение и описание
Область и условия применения:
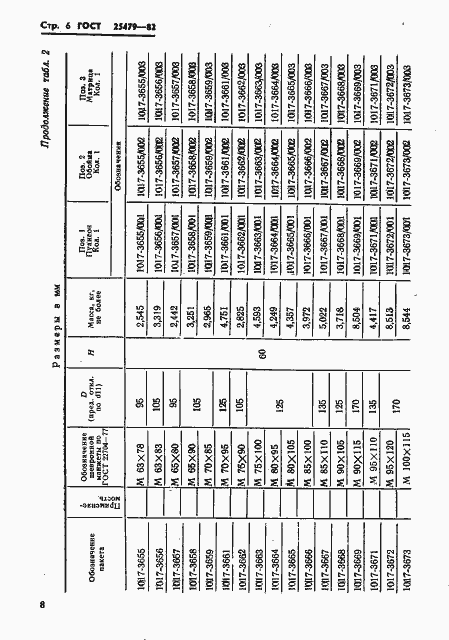
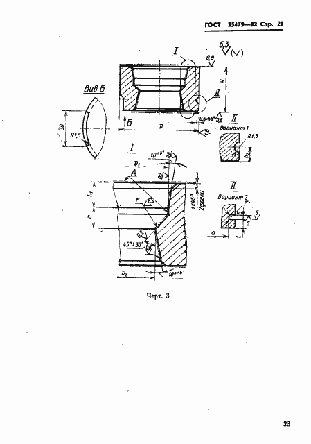
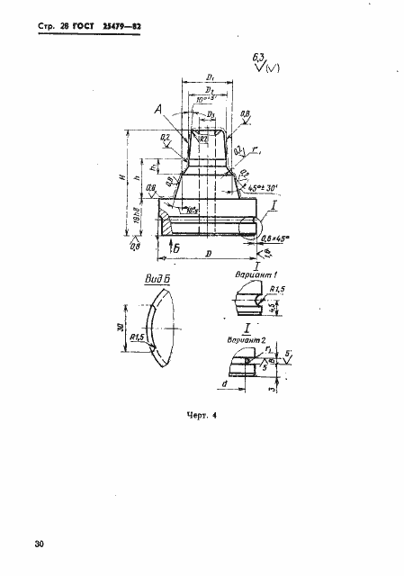
Настоящий стандарт распространяется на пакеты, устанавливаемые в блоки трехкассетных пресс-форм для изготовления шевронных манжет резинотканевых уплотнений
Связи и замены
Заменяющий:
-
Описание стандарта
ГОСТ 25479-82 Пакеты трехкассетных пресс-форм для изготовления шевронных резинотканевых манжет. Конструкция и размеры
Страницы стандарта




































