ГОСТ 26609-85 Блоки трехкассетных пресс-форм для изготовления резинотехнических изделий на прессах с размерами греющих плит 800х800 мм. Конструкция и размеры
ГОСТ
Скачать ГОСТ в PDF или DOC бесплатно
Основная информация
Обозначение:
ГОСТ 26609-85
Статус:
Действует
Тип:
ГОСТ
Название русское:
Блоки трехкассетных пресс-форм для изготовления резинотехнических изделий на прессах с размерами греющих плит 800х800 мм. Конструкция и размеры
Название английское:
Blocks of three-cassette press moulds for producing the rubber technical parts on presses with heating plates dimensions 800x800 mm. Design and dimensions
Даты и сроки
Дата издания:
11-27-85
Дата введения в действие:
06-30-86
Дата завершения срока действия:
-
Применение и описание
Область и условия применения:
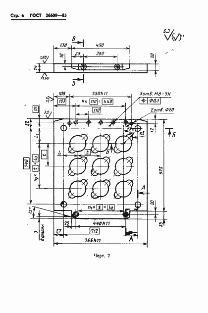
Настоящий стандарт распространяется на блоки трехкассетных пресс-форм для изготовления резинтехнических изделий на вулканизационных прессах с размерами греющих плит 800х800, оборудованных перезарядчиками по ГОСТ 24276-80
Связи и замены
Заменяющий:
-
Описание стандарта
ГОСТ 26609-85 Блоки трехкассетных пресс-форм для изготовления резинотехнических изделий на прессах с размерами греющих плит 800х800 мм. Конструкция и размеры
Страницы стандарта














