ГОСТ 26616-85 Пакеты съемных многоместных пресс-форм для изготовления манжет гидравлических устройств. Конструкция и размеры
ГОСТ
Скачать ГОСТ в PDF или DOC бесплатно
Основная информация
Обозначение:
ГОСТ 26616-85
Статус:
Действует
Тип:
ГОСТ
Название русское:
Пакеты съемных многоместных пресс-форм для изготовления манжет гидравлических устройств. Конструкция и размеры
Название английское:
Sets of portable multi-impression press moulas for manufacturing of rubber u-packing seals. Design and dimensions
Даты и сроки
Дата издания:
03-07-86
Дата введения в действие:
06-30-86
Дата завершения срока действия:
-
Применение и описание
Область и условия применения:
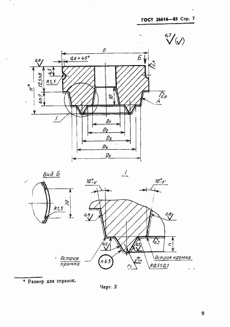
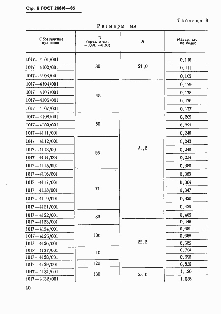
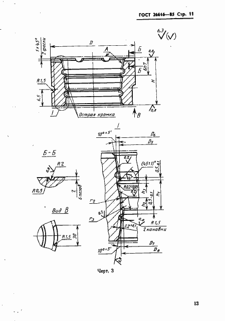
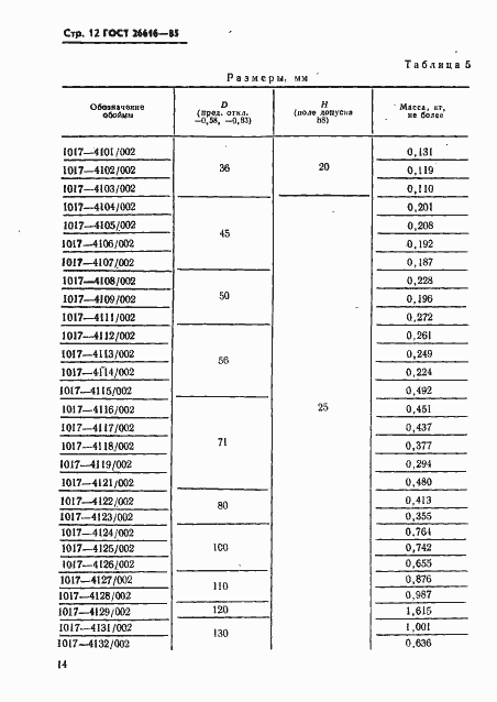
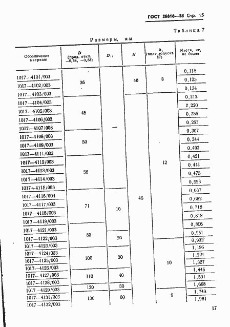
Настоящий стандарт распространяется на пакеты для изготовления резиновых уплотнительных манжет по ГОСТ 14896-84 типов 1 и 3 размерами от 18х10 до 110х90 мм. Пакеты предназначены для установки в блоки съемных многоместных пресс-форм по ГОСТ 24342-80
Связи и замены
Заменяющий:
-
Описание стандарта
ГОСТ 26616-85 Пакеты съемных многоместных пресс-форм для изготовления манжет гидравлических устройств. Конструкция и размеры
Страницы стандарта




















