ГОСТ 21779-82 Система обеспечения точности геометрических параметров в строительстве. Технологические допуски
ГОСТ
Скачать ГОСТ в PDF или DOC бесплатно
Основная информация
Обозначение:
ГОСТ 21779-82
Статус:
Утратил силу в РФ
Тип:
ГОСТ
Название русское:
Система обеспечения точности геометрических параметров в строительстве. Технологические допуски
Название английское:
System of ensuring of geometrical parameters accuracy in construction. Manufacturing and assembling tolerances
Даты и сроки
Дата издания:
01-21-83
Дата введения в действие:
01-01-83
Дата завершения срока действия:
01-01-21
Применение и описание
Область и условия применения:
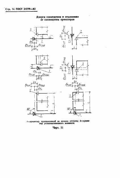
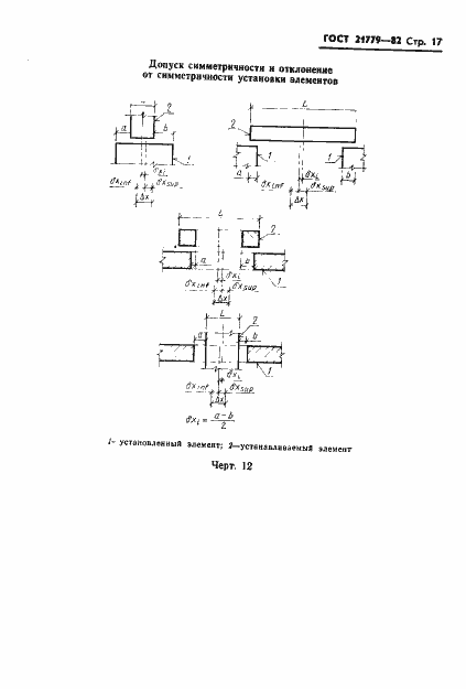
Настоящий стандарт распространяется на проектирование и строительство зданий и сооружений, а также проектирование и изготовление элементов для них (конструкций, изделий, деталей) и устанавливает основные принципы регламентации, номенклатуру и значения технологических допусков геометрических параметров. Стандарт не устанавливает допуски шероховатости поверхностей
Связи и замены
Заменяющий:
-
Взамен:
ГОСТ 21779-76
Описание стандарта
ГОСТ 21779-82 Система обеспечения точности геометрических параметров в строительстве. Технологические допуски
Страницы стандарта























