ГОСТ Р 10.0.03-2019 Система стандартов информационного моделирования зданий и сооружений. Информационное моделирование в строительстве. Справочник по обмену информацией. Часть 1. Методология и формат
ГОСТ Р
Скачать ГОСТ в PDF или DOC бесплатно
Основная информация
Обозначение:
ГОСТ Р 10.0.03-2019
Статус:
Действует
Тип:
ГОСТ Р
Название русское:
Система стандартов информационного моделирования зданий и сооружений. Информационное моделирование в строительстве. Справочник по обмену информацией. Часть 1. Методология и формат
Название английское:
System of standards on information modeling of buildings and structures. Building information models. Information delivery manual. Part 1. Methodology and format
Даты и сроки
Дата издания:
06-17-19
Дата введения в действие:
09-01-19
Дата завершения срока действия:
-
Применение и описание
Область и условия применения:
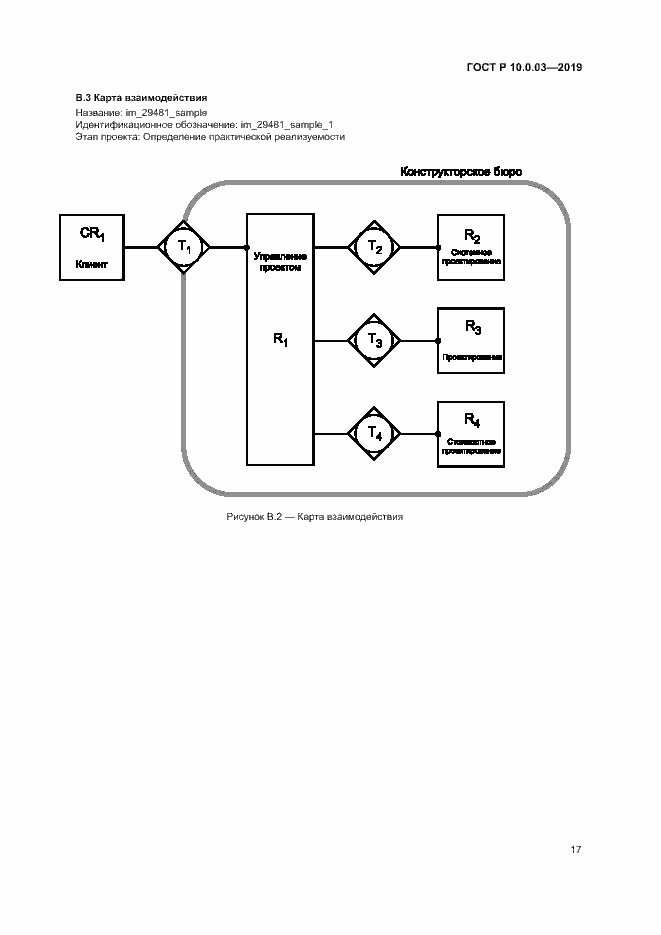
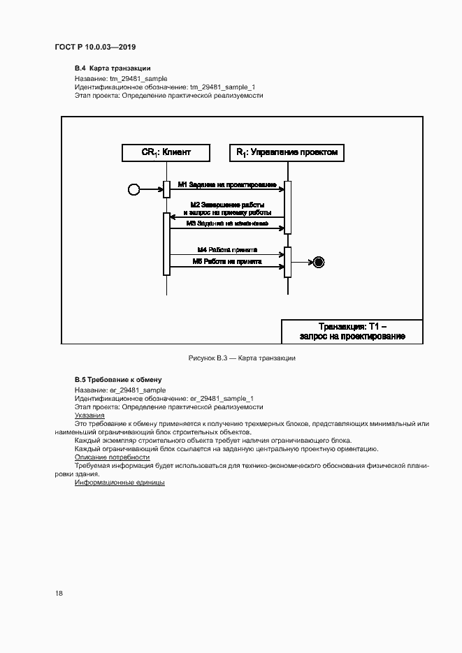
В настоящем стандарте описываются методология, связывающая выполняемые в ходе строительства бизнес-процессы со спецификацией информации, требуемой этими процессами, и способ сопоставления и описания информационных процессов на протяжении всего жизненного цикла объектов строительства. Настоящий стандарт предназначен облегчить интероперабельность программных средств, используемых на всех этапах жизненного цикла строительных объектов, включая постановку задач, проектирование, разработку документации, строительство, эксплуатацию, техническое обслуживание и снос. Он также способствует переводу взаимодействия между акторами процесса строительства на платформу цифровых информационных технологий и обеспечивает основу для точного, надежного, повторяемого и высококачественного обмена информацией
Связи и замены
Заменяющий:
-
Взамен:
ГОСТ Р 57310-2016
Описание стандарта
ГОСТ Р 10.0.03-2019 Система стандартов информационного моделирования зданий и сооружений. Информационное моделирование в строительстве. Справочник по обмену информацией. Часть 1. Методология и формат
Страницы стандарта































