ГОСТ 30970-2002 Блоки дверные из поливинилхлоридных профилей. Технические условия
ГОСТ
Скачать ГОСТ в PDF или DOC бесплатно
Основная информация
Обозначение:
ГОСТ 30970-2002
Статус:
Заменен
Тип:
ГОСТ
Название русское:
Блоки дверные из поливинилхлоридных профилей. Технические условия
Название английское:
Doors of polyvinylchloride profiles. Specifications
Даты и сроки
Дата регистрации:
04-24-02
Дата издания:
05-13-03
Дата введения в действие:
03-01-03
Дата завершения срока действия:
07-01-15
Применение и описание
Область и условия применения:
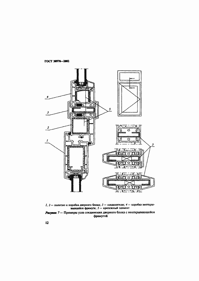
Настоящий стандарт распространяется на дверные блоки из поливинилхлоридных профилей с полотнами рамочной конструкции и распашным открыванием для зданий и сооружений различного назначения. Стандарт не распространяется на балконные дверные блоки, а также на дверные блоки специального назначения в части дополнительных требований к пожаробезопасности, стойкости к взлому и т.д. Область применения конкретных марок изделий устанавливают в зависимости от условий эксплуатации в соответствии с действующими строительными нормами и правилами с учетом требований настоящего стандарта. Стандарт может быть применен для целей сертификации изделий
Связи и замены
Заменяющий:
ГОСТ 30970-2014
Описание стандарта
ГОСТ 30970-2002 Блоки дверные из поливинилхлоридных профилей. Технические условия
Страницы стандарта



















































