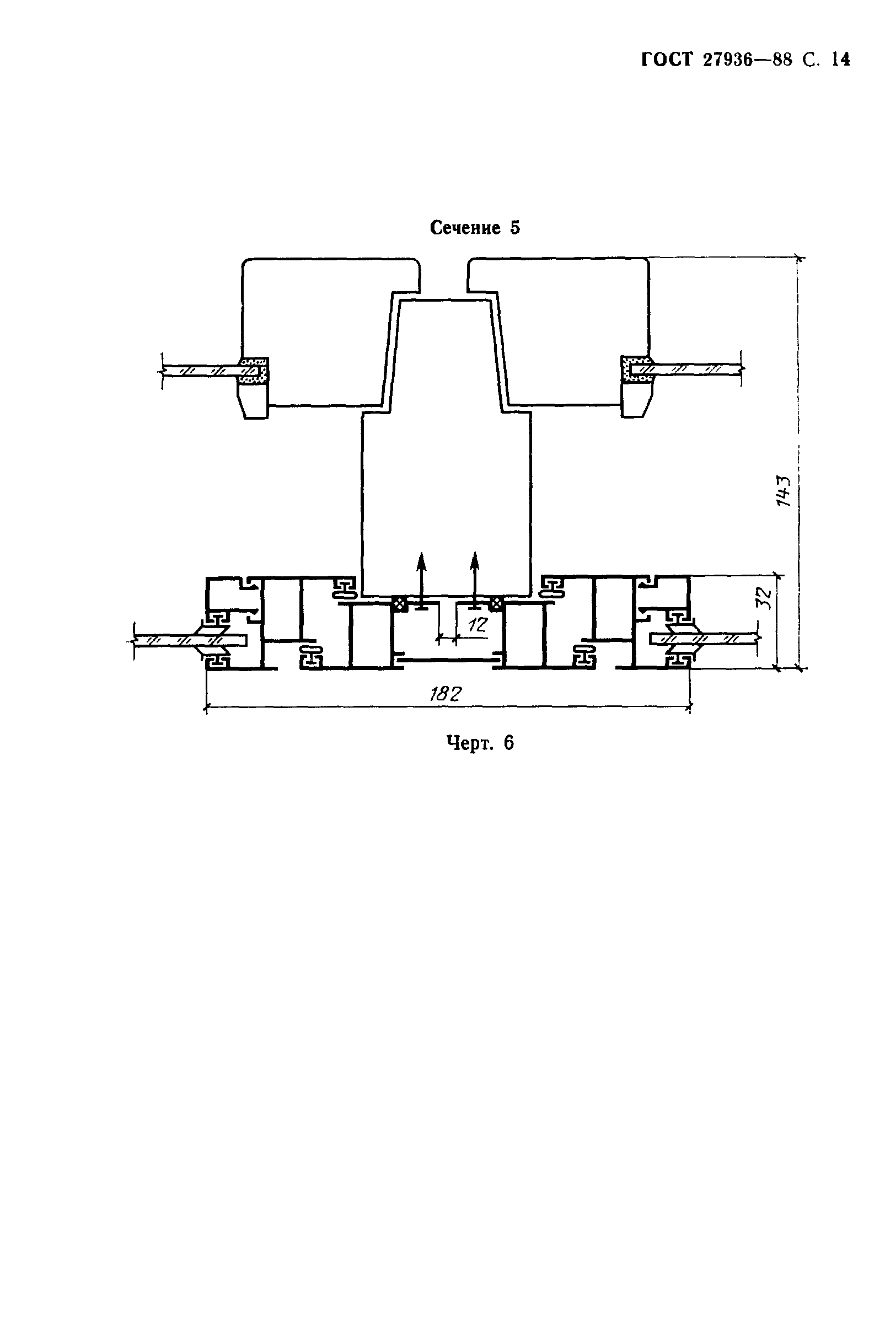
ГОСТ 27936-88 Окна и двери балконные деревоалюминиевые для общественных зданий. Типы и конструкция
ГОСТ
Скачать ГОСТ в PDF или DOC бесплатно
Основная информация
Обозначение:
ГОСТ 27936-88
Статус:
Заменен
Тип:
ГОСТ
Название русское:
Окна и двери балконные деревоалюминиевые для общественных зданий. Типы и конструкция
Название английское:
Windows and balcony doors of woodaluminium for public buildings. Types and structur
Даты и сроки
Дата издания:
04-14-89
Дата введения в действие:
01-01-90
Дата завершения срока действия:
03-01-03
Связи и замены
Заменяющий:
ГОСТ 25097-2002
Описание стандарта
ГОСТ 27936-88 Окна и двери балконные деревоалюминиевые для общественных зданий. Типы и конструкция
Страницы стандарта































