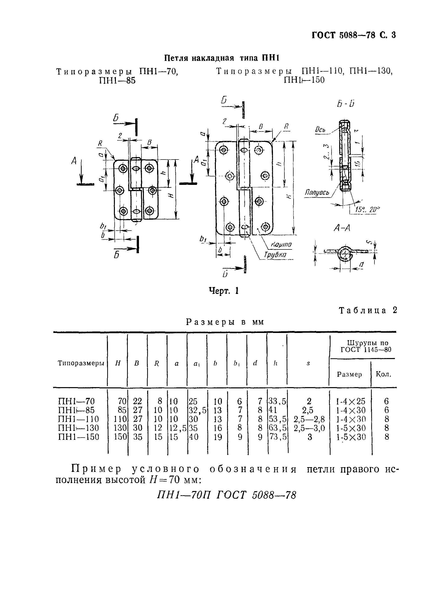
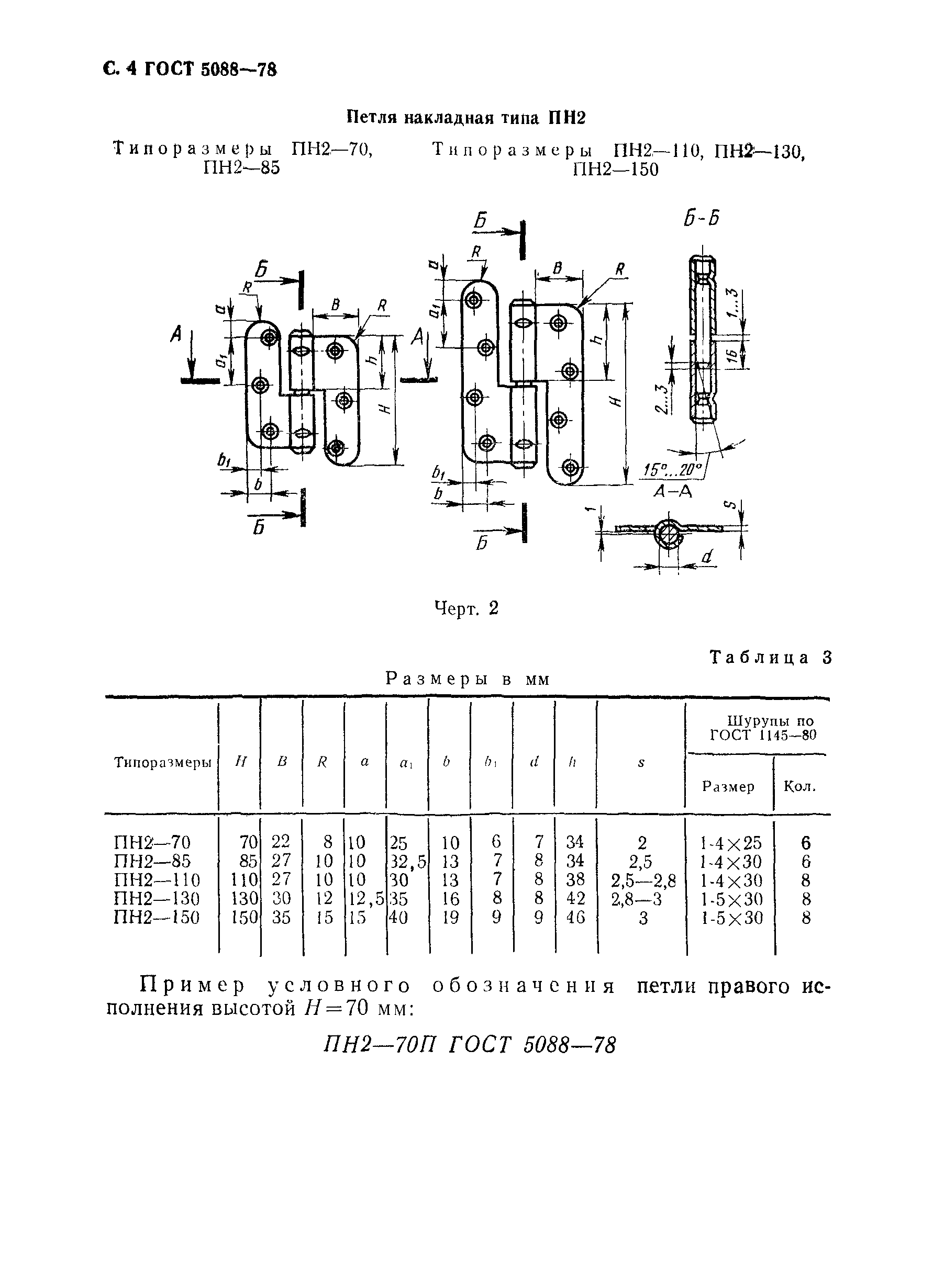
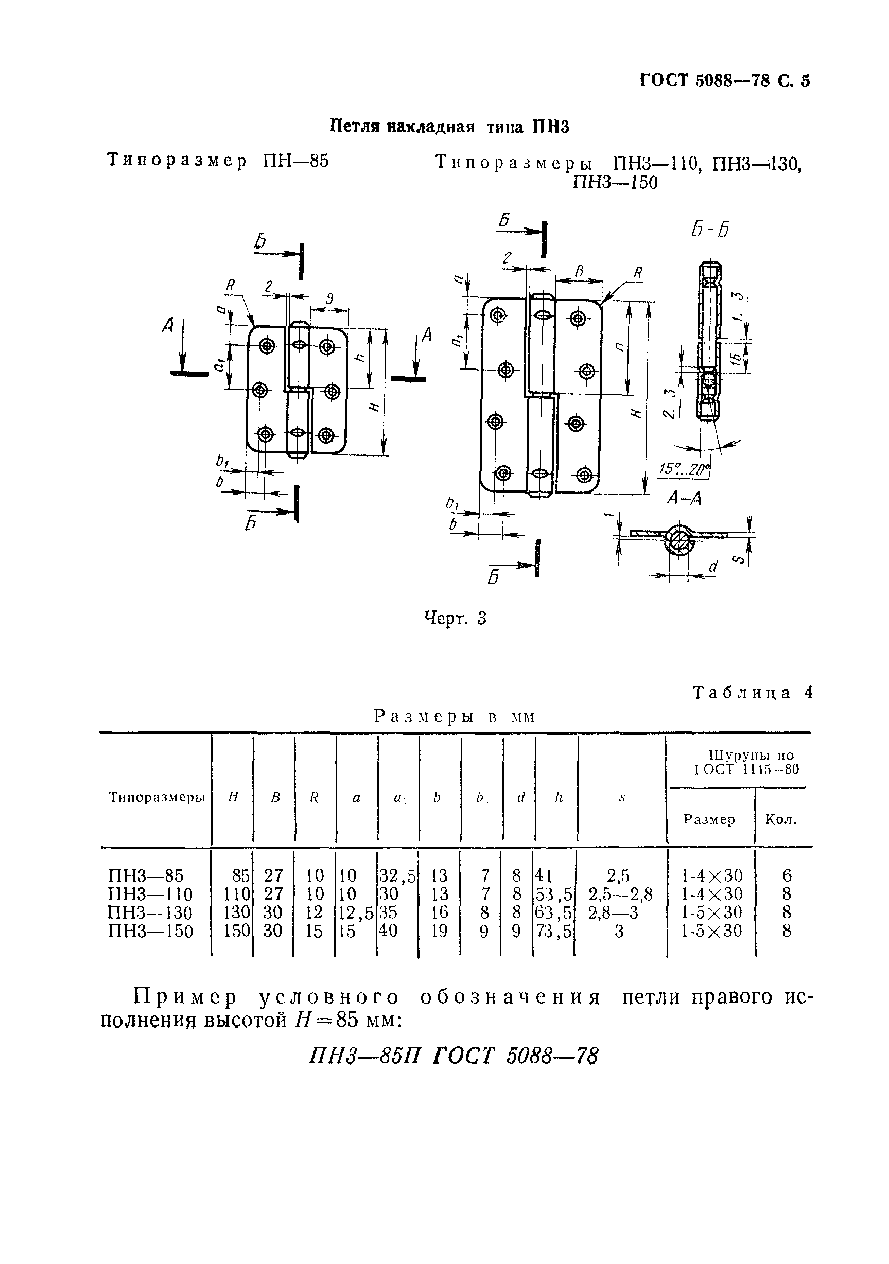
ГОСТ 5088-78 Петли для оконных и дверных балконов. Технические условия
ГОСТ
Скачать ГОСТ в PDF или DOC бесплатно
Основная информация
Обозначение:
ГОСТ 5088-78
Статус:
Заменен
Тип:
ГОСТ
Название русское:
Петли для оконных и дверных балконов. Технические условия
Название английское:
Window and door hinges. Types and principal dimensions
Даты и сроки
Дата введения в действие:
01-01-80
Дата завершения срока действия:
09-01-95
Связи и замены
Заменяющий:
ГОСТ 5088-94
Взамен:
ГОСТ 5088-72
Изменения и переиздания
Список изменений:
№1 от (рег. ) «Поправка»
Описание стандарта
ГОСТ 5088-78 Петли для оконных и дверных балконов. Технические условия
Страницы стандарта

















