ГОСТ 20054-82 Трубы бетонные безнапорные. Технические условия
ГОСТ
Скачать ГОСТ в PDF или DOC бесплатно
Основная информация
Обозначение:
ГОСТ 20054-82
Статус:
Заменен
Тип:
ГОСТ
Название русское:
Трубы бетонные безнапорные. Технические условия
Название английское:
Concrete non-pressure pipes. Specifications
Даты и сроки
Дата издания:
07-27-82
Дата введения в действие:
01-01-83
Дата завершения срока действия:
07-01-17
Применение и описание
Область и условия применения:
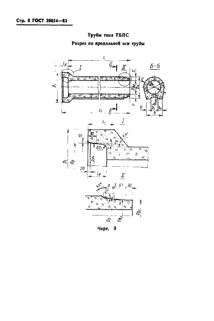
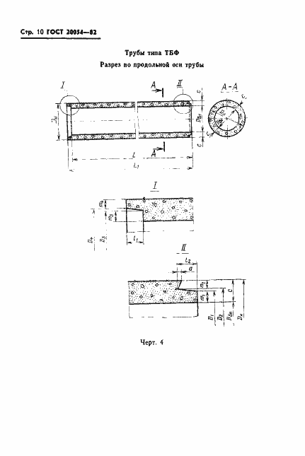
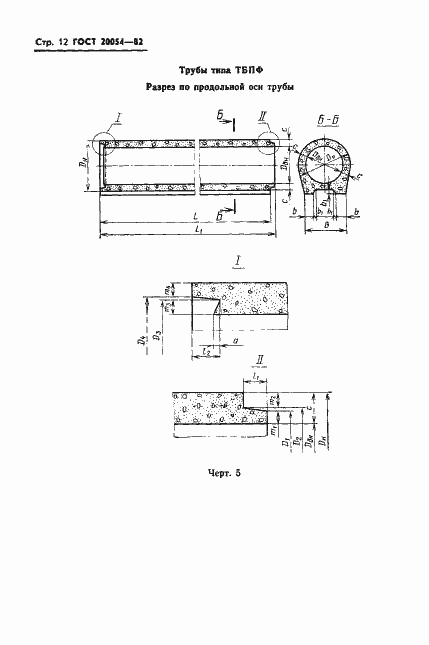
Настоящий стандарт распространяется на бетонные безнапорные раструбные и фальцевые трубы с круглым отверстием, изготовляемые из тяжелого бетона и предназначенные для строительства в любых климатических условиях, а также при сейсмичности района строительства до 7 баллов включительно, подземных трубопроводов, по которым предусматривается транспортирование всех видов сточных вод самотеком. Стандарт не распространяется на звенья бетонных водопропускных труб, укладываемых под насыпи железных и автомобильных дорог
Связи и замены
Заменяющий:
ГОСТ 20054-2016
Взамен:
ГОСТ 20054-74
Описание стандарта
ГОСТ 20054-82 Трубы бетонные безнапорные. Технические условия
Страницы стандарта

























