ГОСТ 21174-75 Шпалы железобетонные предварительно напряженные для трамвайных путей широкой колеи
ГОСТ
Скачать ГОСТ в PDF или DOC бесплатно
Основная информация
Обозначение:
ГОСТ 21174-75
Статус:
Заменен
Тип:
ГОСТ
Название русское:
Шпалы железобетонные предварительно напряженные для трамвайных путей широкой колеи
Название английское:
Prestressed reinforced concrete sleepers for the wide-gauge tramways
Даты и сроки
Дата издания:
01-01-87
Дата введения в действие:
06-30-76
Дата завершения срока действия:
06-01-25
Применение и описание
Область и условия применения:
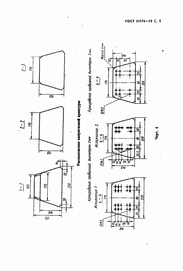
Настоящий стандарт распространяется на брусковые железобетонные предварительно напряженные шпалы, применяемые в прямых и кривых участках трамвайных путей широкой колеи бесстыковых и со стыками, с дорожным покрытием и без него
Связи и замены
Заменяющий:
ГОСТ 21174-2024
Описание стандарта
ГОСТ 21174-75 Шпалы железобетонные предварительно напряженные для трамвайных путей широкой колеи
Страницы стандарта
















