ГОСТ 21924.0-84 Плиты железобетонные для покрытий городских дорог. Технические условия
ГОСТ
Скачать ГОСТ в PDF или DOC бесплатно
Основная информация
Обозначение:
ГОСТ 21924.0-84
Статус:
Заменен
Тип:
ГОСТ
Название русское:
Плиты железобетонные для покрытий городских дорог. Технические условия
Название английское:
Rainforced concrete slabs for pavements of city roads. Specifications
Даты и сроки
Дата издания:
01-01-02
Дата введения в действие:
01-01-85
Дата завершения срока действия:
08-01-24
Применение и описание
Область и условия применения:
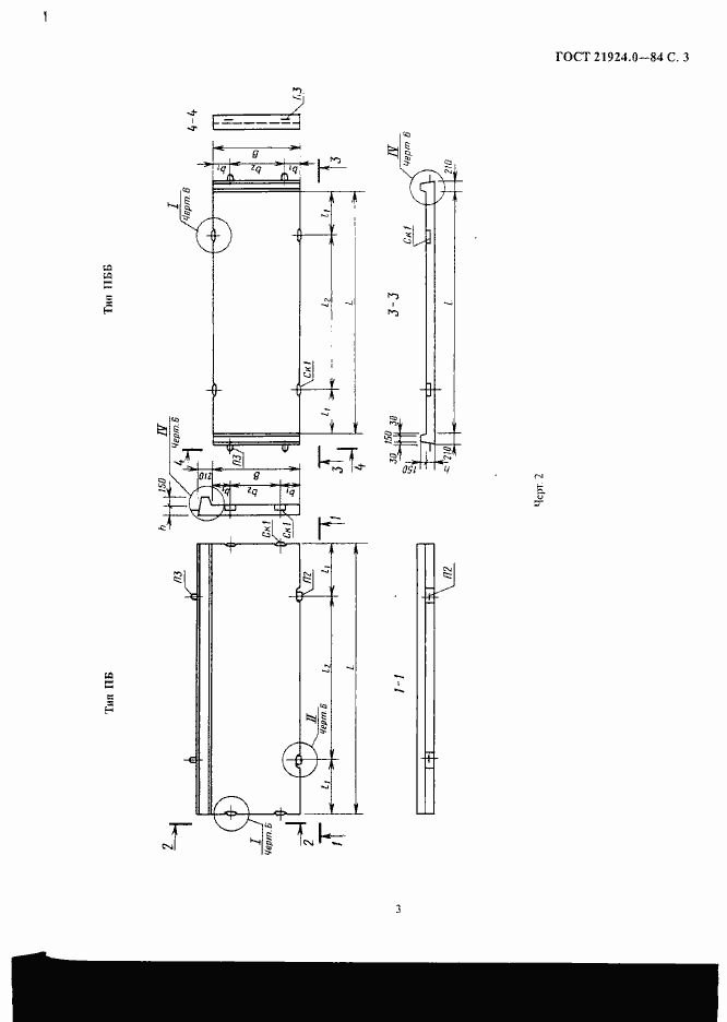
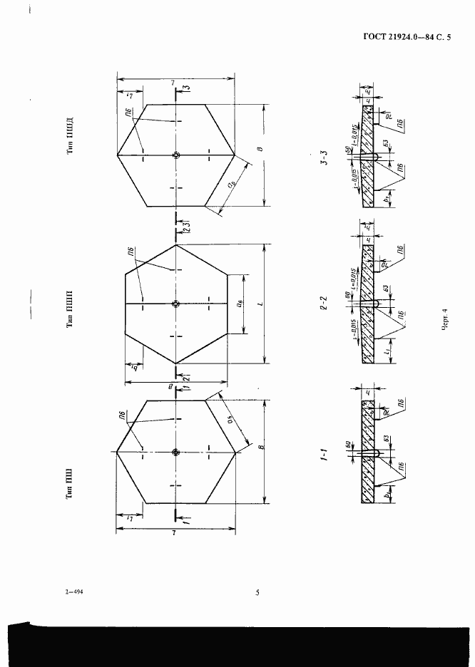
Настоящий стандарт распространяется на железобетонные предварительно напряженные плиты и плиты с ненапрягаемой арматурой, изготовляемые из тяжелого бетона и предназначенные для устройства сборочных покрытий постоянных и временных городских дорог под автомобильную нагрузку Н-30 и Н-10. Стандарт не распространяется на железобетонные плиты для внутренних автомобильных дорог промышленных предприятий, для внутрихозяйственных автомобильных дорог по СНиП 2.05.07, а также на плиты многоразового использования для временных дорог на строительных площадках
Связи и замены
Заменяющий:
ГОСТ 21924-2024
Взамен:
ГОСТ 21924-76
Изменения и переиздания
Список изменений:
№1 от (рег. ) «Срок действия продлен»
Описание стандарта
ГОСТ 21924.0-84 Плиты железобетонные для покрытий городских дорог. Технические условия
Страницы стандарта



















